Polaris MAGNUM 4X4 - W98AC42A DRIVE CLUTCH - N98AC42D (4945214521C004) Diagram
#
Description
Price
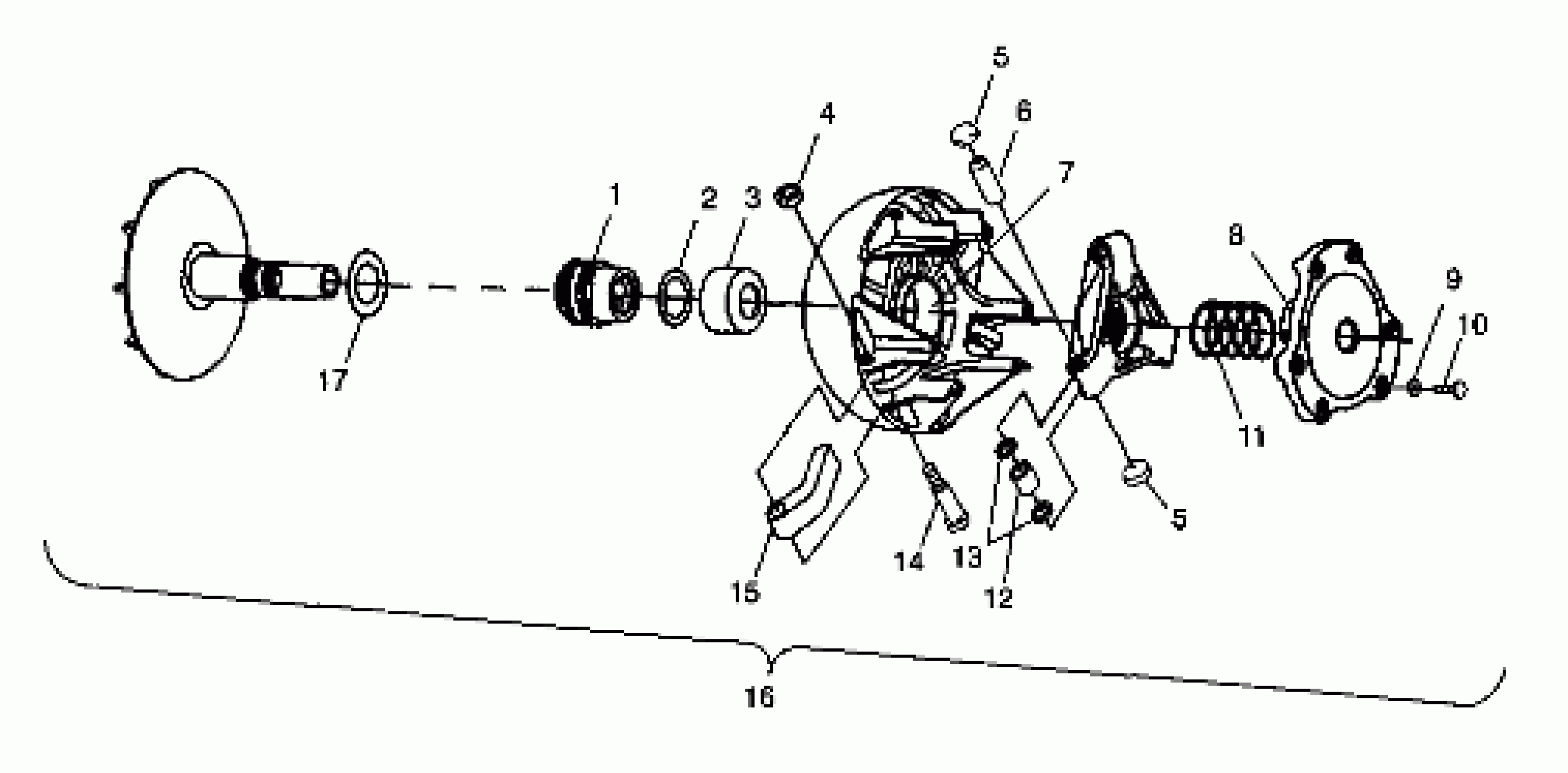
3
SPACER Substituted by 5631119
5131646
Unavailable
5
BUTTON,CLUTCH
5431936
Unavailable
5
BUTTON,CLUTCH
5431936
Unavailable
10
BOLT(10) Substituted by 7512163
7512176
Unavailable
