- Partiron
- OEM Parts
- Polaris
- ATV
- 1997
- MAGNUM 4X4 - W97AC42A
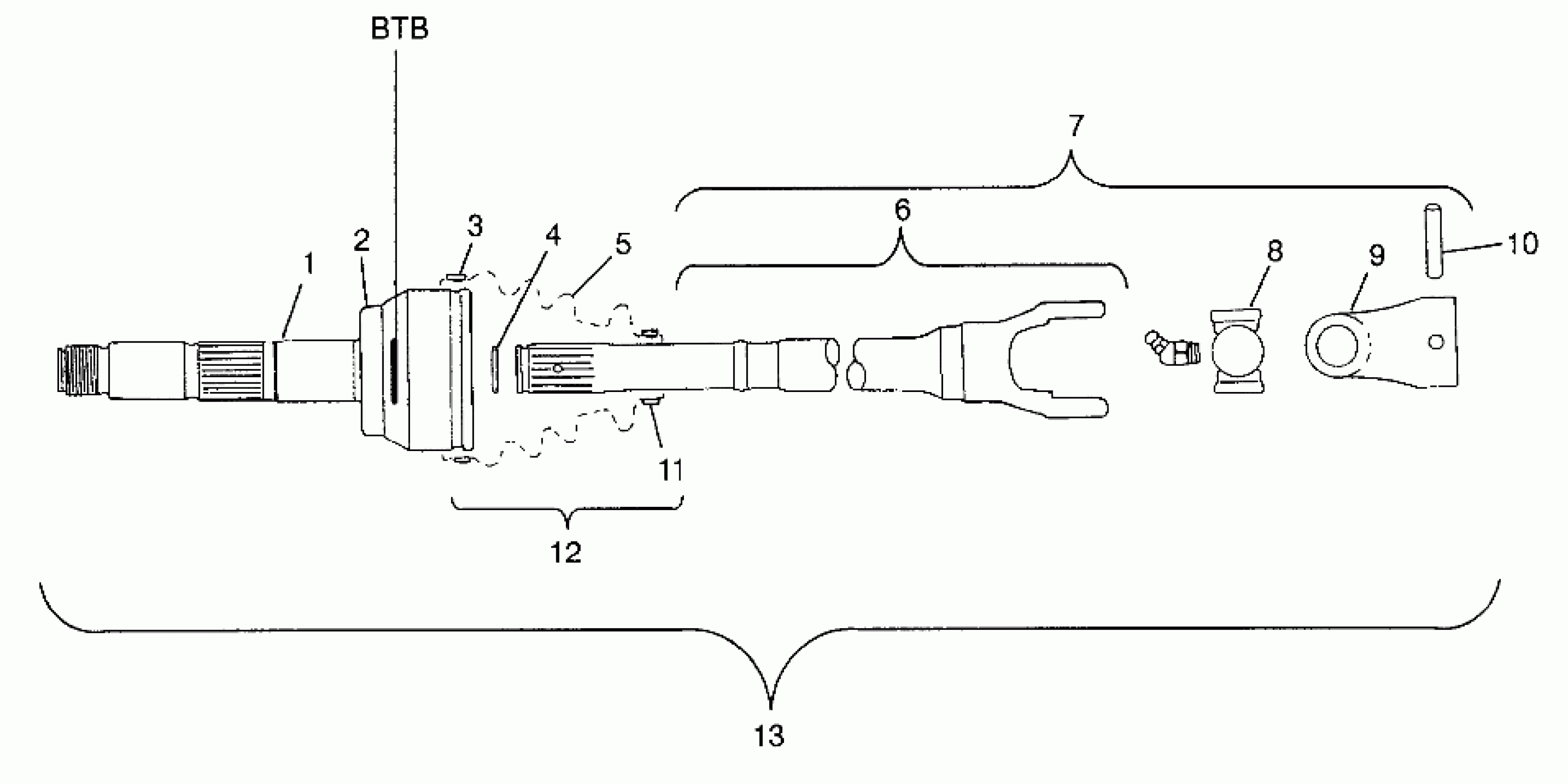
CV JOINT - BTB Magnum 4X4 W97AC42A, Swedish Magnum 4X4 S97AC42E and Norwegi (4940834083B013)
Polaris MAGNUM 4X4 - W97AC42A CV JOINT - BTB Magnum 4X4 W97AC42A, Swedish Magnum 4X4 S97AC42E and Norwegi (4940834083B013) Diagram
#
Description
Price
4
CIRCLIP,DRIVESHAFT,BTB
7670091
Unavailable
5
Boot, CV Joint
5411106
Unavailable
8
KIT,CROSS&BEARING
2200771
Unavailable
9
Yoke, Splined
3260130
Unavailable
11
CLAMP, BAND
7080627
Unavailable
12
KIT,BOOT,CV JOINT,BTB (Incl. 3, 5, 11)
2200773
Unavailable
13
SHAFT,LH,DRIVE,LONG Substituted by 2200961 NOTE: If the end is stamped LH, order LH parts. If the end is stamped RH, or not stamped at all, order RH parts.
1380085
$204.62
