- Partiron
- OEM Parts
- Polaris
- ATV
- 1997
- MAGNUM 4X4 - W97AC42A
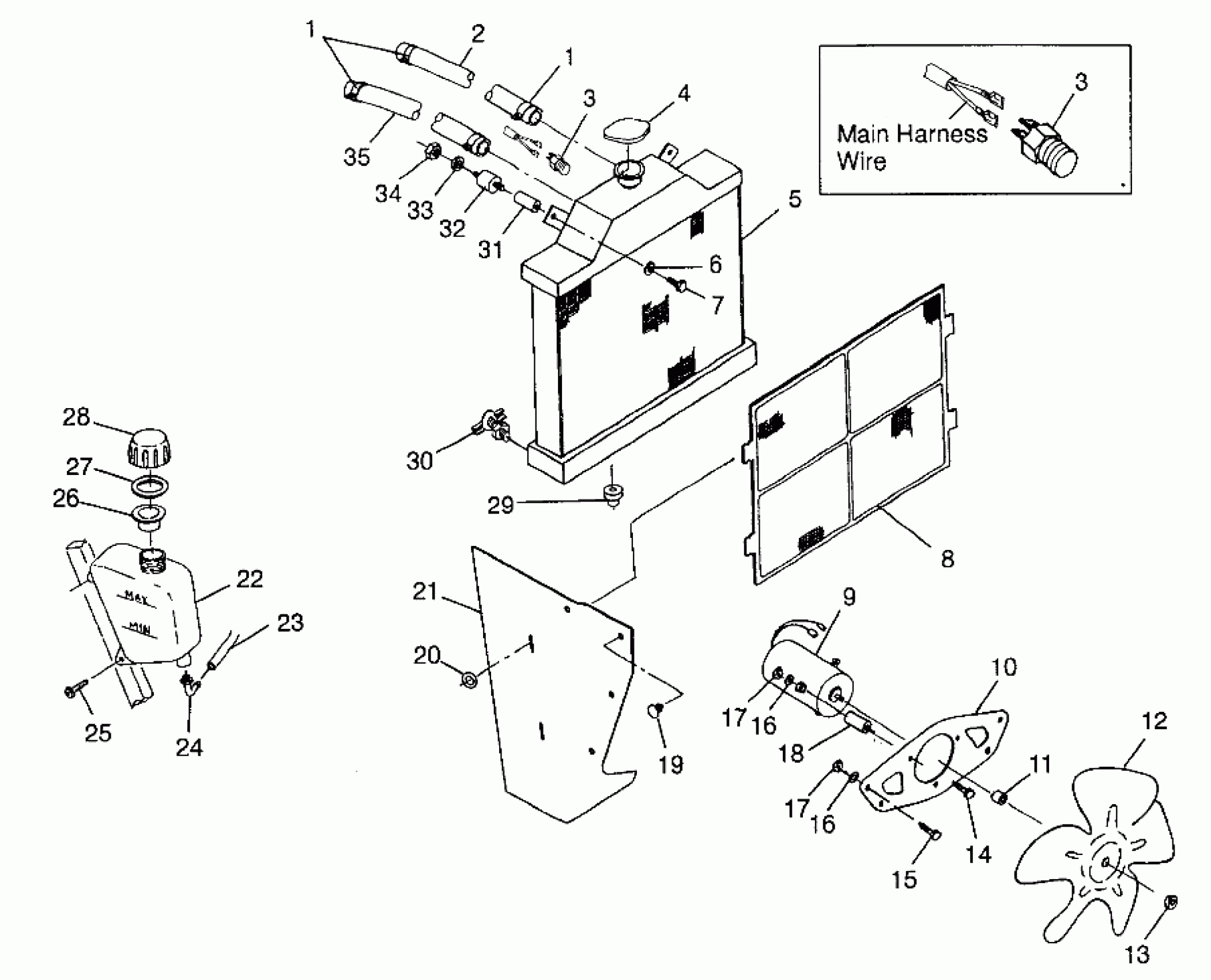
COOLING SYSTEM Magnum 4X4 W97AC42A, Swedish Magnum 4X4 S97AC42E and Norwegi (4940834083A011)
Polaris MAGNUM 4X4 - W97AC42A COOLING SYSTEM Magnum 4X4 W97AC42A, Swedish Magnum 4X4 S97AC42E and Norwegi (4940834083A011) Diagram
#
Description
Price
2
HOSE,CHAFE-PROTECTED
5411108
Unavailable
3
SWITCH,THERMAL,FAN,L/C
4110225
Unavailable
3
SWITCH,THERMAL,FAN,L/C
4110225
Unavailable
4
CAP, RADIATOR Substituted by 2511270
2511189
Unavailable
5
RADIATOR,"U"FLOW
1240015
Unavailable
8
COVER,RADIATOR,W/MESH
5431760
Unavailable
9
MOTOR,FAN,LQ,W/CONNECTOR (Incl. 11, 13)
4170011
Unavailable
11
SPACER
5333457
Unavailable
13
NUT
7542154
Unavailable
21
SHIELD,RH,RADIATOR SIDE
5431830
Unavailable
22
Tank, Surge
5431673
Unavailable
26
PLUG,CAP Substituted by 5433774
5431895
Unavailable
30
VALVE,DRAIN COCK
7052181
Unavailable
35
HOSE,WATER,305 CM.
8450050-305
Unavailable
