- Partiron
- OEM Parts
- Polaris
- ATV
- 1997
- MAGNUM 2X4 - W97AA42A
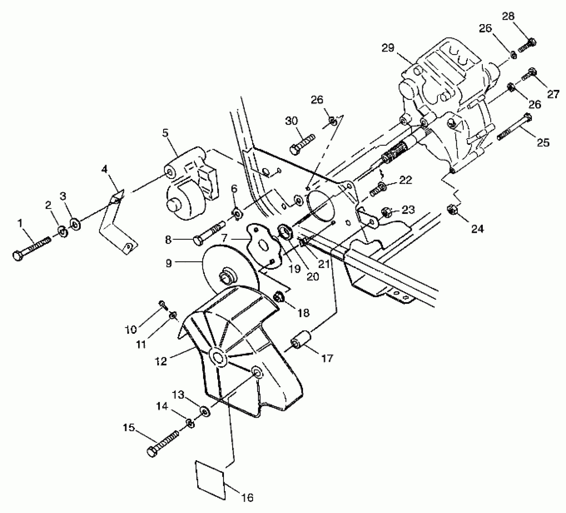
GEARCASE/BRAKE MOUNTING Magnum 2X4 W97AA42A (4940704070B014)
Polaris MAGNUM 2X4 - W97AA42A GEARCASE/BRAKE MOUNTING Magnum 2X4 W97AA42A (4940704070B014) Diagram
#
Description
Price
4
SHIELD,R.CALIPER,BLK.
5241018-067
Unavailable
5
CALIPER ASM,R.BRAKE
1910224
Unavailable
8
BOLT, SHOULDER
7512702
Unavailable
9
DISC ASM,BRAKE
1910177
Unavailable
10
SCREW(10)
7512252
Unavailable
11
WASHER(10) Substituted by 7558301
7555776
Unavailable
12
GUARD, BRAKE DISC
5431766
Unavailable
13
WASHER(10) Substituted by 7558402
7555770
Unavailable
15
BOLT(10) Substituted by 7515339
7515328
Unavailable
16
DECAL,BRAKE SHIELD
7075339
Unavailable
21
SPACER,(10) (.020)
5210764
Unavailable
21
SHIM,.010,GEARCASE (.010)
5211065
Unavailable
21
SHIM,(.030) (.030)
5211517
Unavailable
22
BOLT,CARRIAGE(10)
7515484
Unavailable
29
Asm., Gearcase (See Pg. NO TAG for Details)
-------
Unavailable
