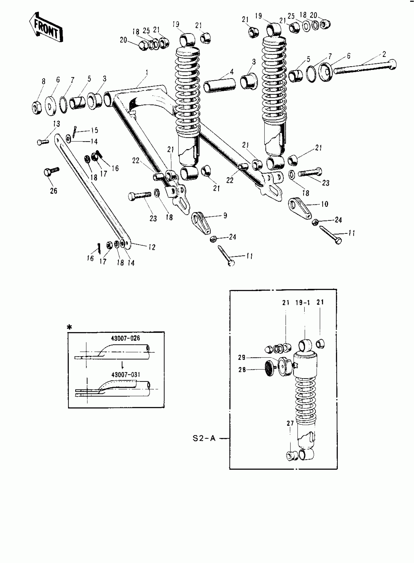
Kawasaki Mach II SWING ARM/SHOCK ABSORBERS Diagram
#
Description
Price
1
ARM-SWING
33001-039
Unavailable
2
SHAFT-SWING ARM PIVOT
33032-037
Unavailable
3
BUSHING-SWING ARM
33033-009
Unavailable
4
SLEEVE-SWING ARM,LONG
33034-012
Unavailable
5
SLEEVE-SWING ARM,SHRT
33034-013
Unavailable
6
CAP-SWING ARM
33035-004
Unavailable
7
"0" RING,30MM
671B2530
Unavailable
8
NUT-LOCK,14MM
92019-011
Unavailable
9
ADJUSTER CHAIN L.H
33040-032
Unavailable
10
ADJUSTER CHAIN R.H
33040-033
Unavailable
11
BOLT,8X50
92001-1399
Unavailable
12
TORQUE LINK-RR BRAKE
43007-031
Unavailable
*
TORQUE LINK-RR BRAKE
43007-031
Unavailable
13
PIN,SPRING,10X12
43009-001
Unavailable
14
WASHER PLAIN 10MM
410B1000
Unavailable
15
PIN-COTTER,2.5X20
550D2520
Unavailable
16
PIN-SNAP,8MM
554A0800
Unavailable
16
PIN-SNAP,8MM
554A0800
Unavailable
17
NUT-HEX-FINE,10MM
314B1000
Unavailable
18
WASHER SPRING 10MM
461F1000
Unavailable
19
SHOCK ABSBR RR
45014-062
Unavailable
19-1
SHOCK ABSBR RR
45014-078
Unavailable
20
NUT,CAP,10MM
92020-003
Unavailable
21
BUSH SHCK ABS RUBBER
45017-001
Unavailable
21
BUSH SHCK ABS RUBBER
45017-001
Unavailable
22
COLLAR,SHOCKABSORBER
45016-003
Unavailable
23
BOLT HEX HEAD 10X35
113N1035
Unavailable
24
NUT 8MM
312B0800
Unavailable
25
WASHER,10.5X26X2.3
92022-044
Unavailable
26
BOLT,10X29
92003-096
Unavailable
27
BUSHING,SHCK ABS RUB
45017-018
Unavailable
28
REFLECTOR,REFLEX,REAR
28001-030
Unavailable
28
REFLECTOR,REFLEX,REAR
28001-030
Unavailable
29
DAMPER RUBBER-REFLEX
28016-002
Unavailable
