Kawasaki Mach II FRONT MASTER CYLINDER ('74-'75 S3/S3-A) Diagram
#
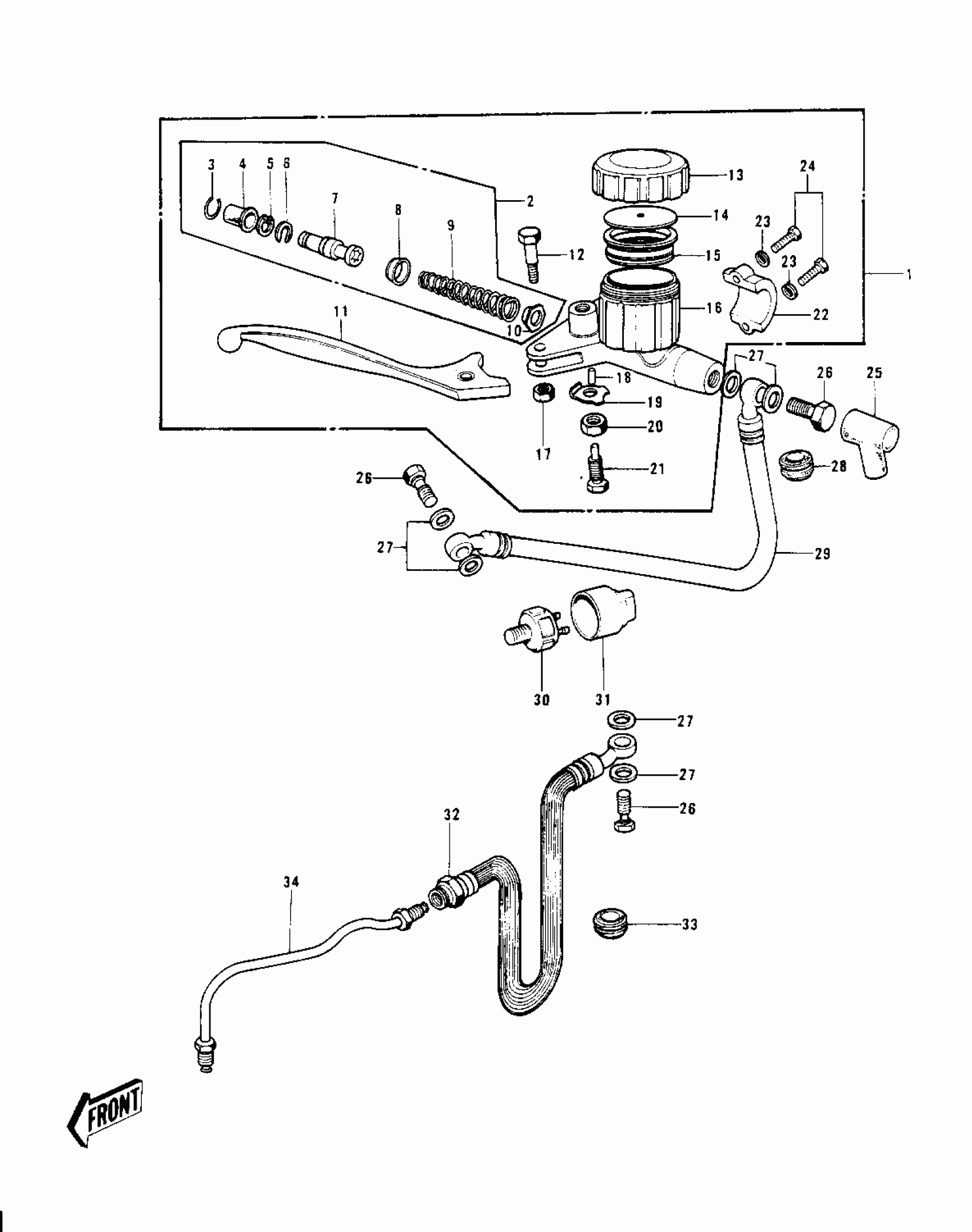
1
CYLINDER ASSY,MASTER
43015-032
Unavailable
1
CYLINDER ASSY,MASTER
43015-032
Unavailable
2
REPAIR SET-MASTER CYL
43073-001
Unavailable
3
STOPPER-BOOTS
43025-001
Unavailable
4
BOOTS
43024-001
Unavailable
5
CIRCLIP-TYPE-C,18MM
481J1800
Unavailable
6
STOPPER-PISTON
43022-001
Unavailable
7
PISTON ASSY
43072-001
Unavailable
8
CUP-PRIMARY
43019-001
Unavailable
9
SPRING ASSY-RETURN
43018-001
Unavailable
10
VALVE ASSY-CHECK
43017-001
Unavailable
11
LEVER,FRONT BRAKE
43029-003
Unavailable
12
BOLT-LEVER FITTING
43033-001
Unavailable
13
CAP,OIL CUP
43026-003
Unavailable
14
PLATE-MASTER CYLINDE
43027-001
Unavailable
15
UNAVAILABLE IN PRICE BOOK
43028-002
Unavailable
16
BODY, MASTER CYLINDER
43016-002
Unavailable
17
NUT,6MM
312N0600
Unavailable
18
TUBE
43074-001
Unavailable
19
WASHER-LOCK,8MM
43031-001
Unavailable
20
NUT,8MM
314N0800
Unavailable
21
BOLT-LEVER ADJUST
43030-002
Unavailable
21
BOLT,LEVER ADJUSTING
43030-003
Unavailable
22
HOLDER-MASTER CYL
43034-001
Unavailable
23
WASHER PLAIN 6MM
411B0600
Unavailable
24
BOLT HEX HEAD 6X25
110N0625
Unavailable
25
BOOT,DUST
49006-1041
Unavailable
25
BOOT,DUST
49006-1041
Unavailable
26
BOLT,OIL,L=23
92002-1888
Unavailable
27
WASHER,10.5X15X1.5
43067-001
Unavailable
28
DAMPER RUBBER
43064-005
Unavailable
29
HOSE-FRONT BRAKE
43059-006
Unavailable
30
SWITCH-FRONT BRAKE
43065-001
Unavailable
31
RUBBER CAP,FRNT BRKE
92073-027
Unavailable
32
HOSE-FRONT BRAKE
43059-008
Unavailable
33
GROMMET-HOSE BRACKET
43064-001
Unavailable
34
PIPE-BRIDGE
43060-003
Unavailable
