- Partiron
- OEM Parts
- Suzuki
- All Terrain Vehicle
- 2007
- LTF250 (2007)
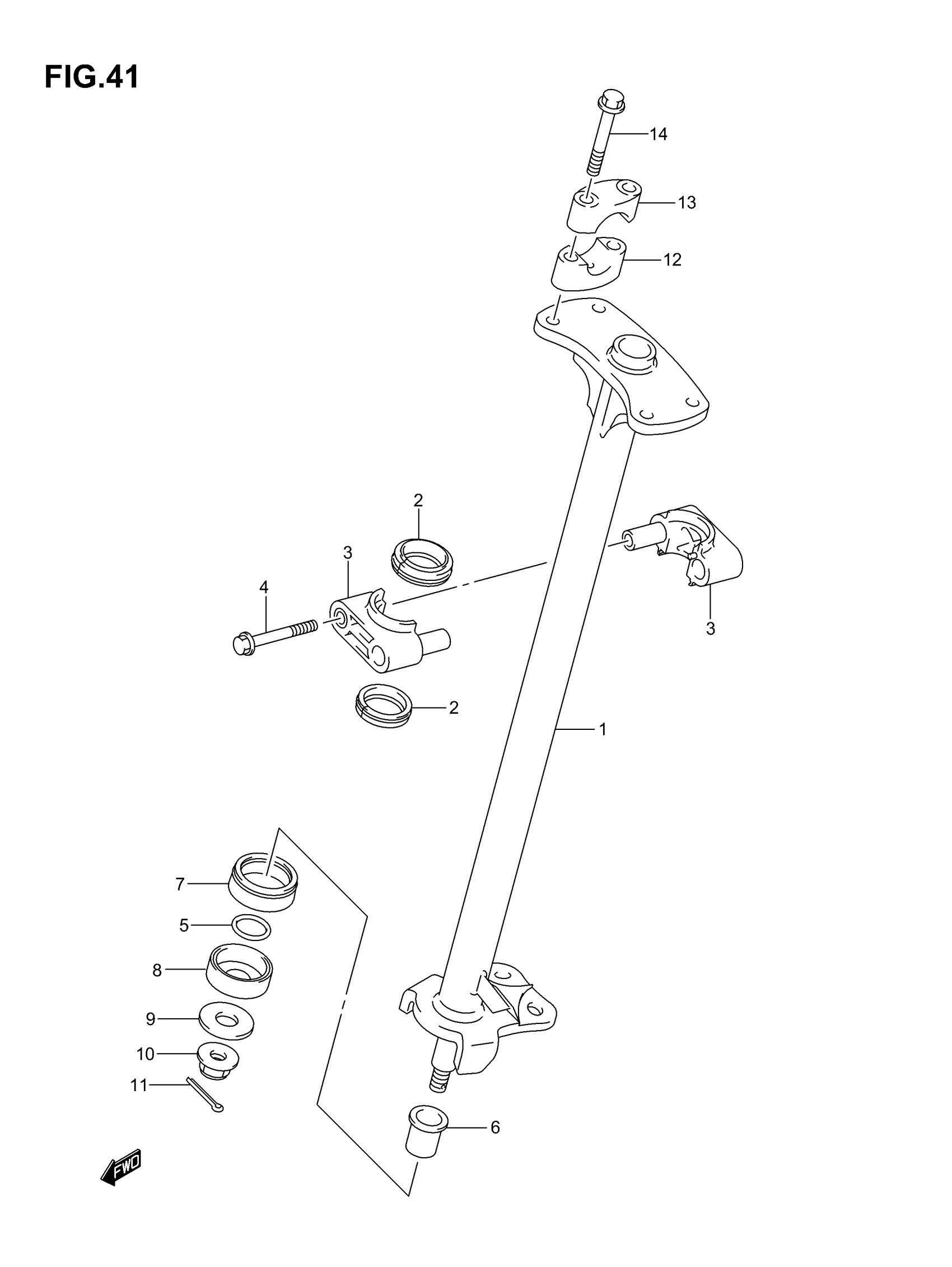
STEERING SHAFT
Suzuki LTF250 (2007) STEERING SHAFT Diagram
#
Description
Price
1
SHAFT, STEERING
51650-05G10
Unavailable
STEERING SHAFT
#
1
51650-05G10
Unavailable
Edit ride
