- Partiron
- OEM Parts
- Suzuki
- All Terrain Vehicle
- 2007
- LTF250 (2007)
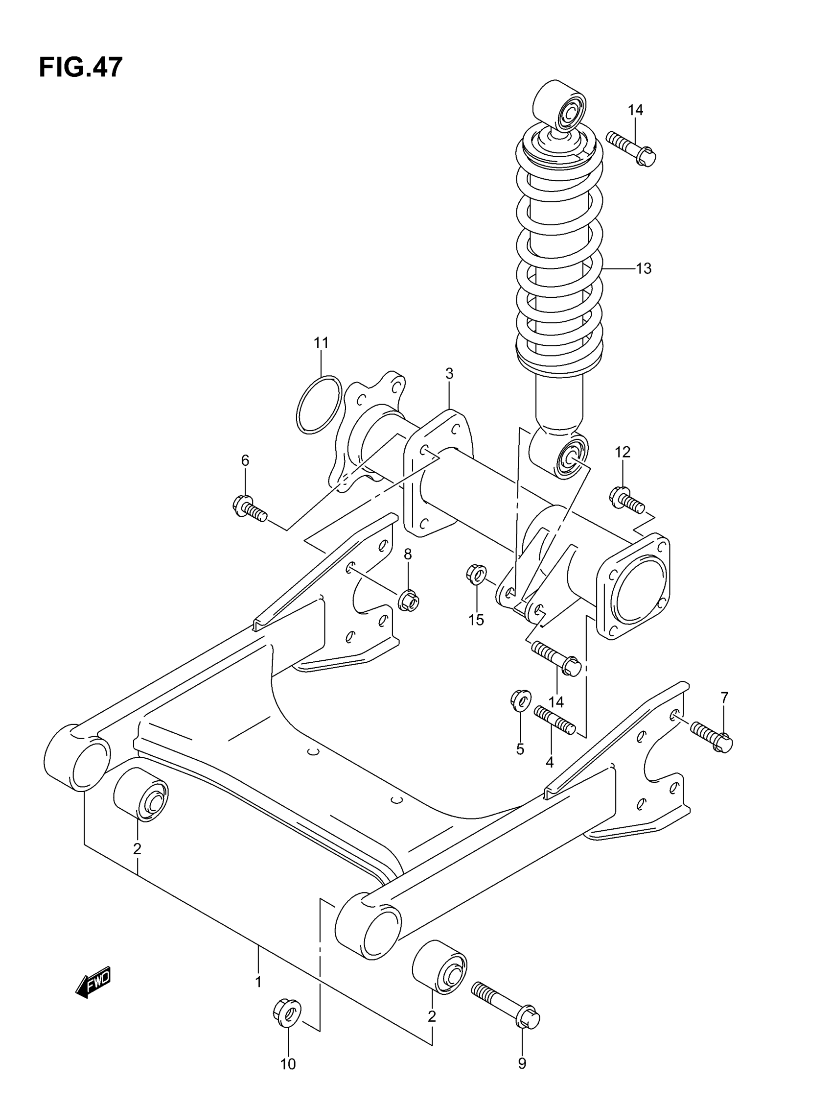
REAR SWINGINGARM
Suzuki LTF250 (2007) REAR SWINGINGARM Diagram
#
Description
Price
1
SWINGINGARM SET, REAR | Includes Item(s) 2
61100-05850
Unavailable
3
HOUSING, RR AXLE, R
61300-05G20
Unavailable
