Partiron

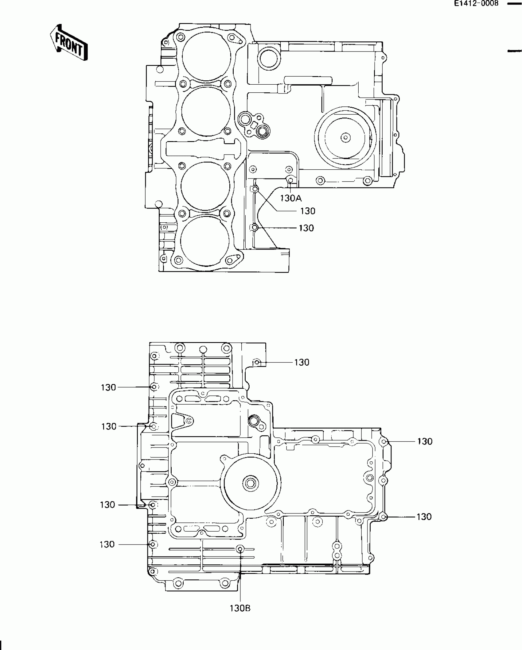
Kawasaki LTD Shaft CRANKCASE BOLT & STUD PATTERN Diagram

#

Description
Price

92043

PIN,DOWEL,6.3X8X14

92042-007

$5.70

92043A

PIN,DOWEL,6X16

92042-016

$5.00

130

BOLT-FLANGED,6X40

130G0640

$1.17

130A

BOLT-FLANGED,6X55

130G0655

$4.65

130B

BOLT-FLANGED,6X95

130G0695

$5.21

130C

BOLT-FLANGED,8X95

130P0895

$10.59