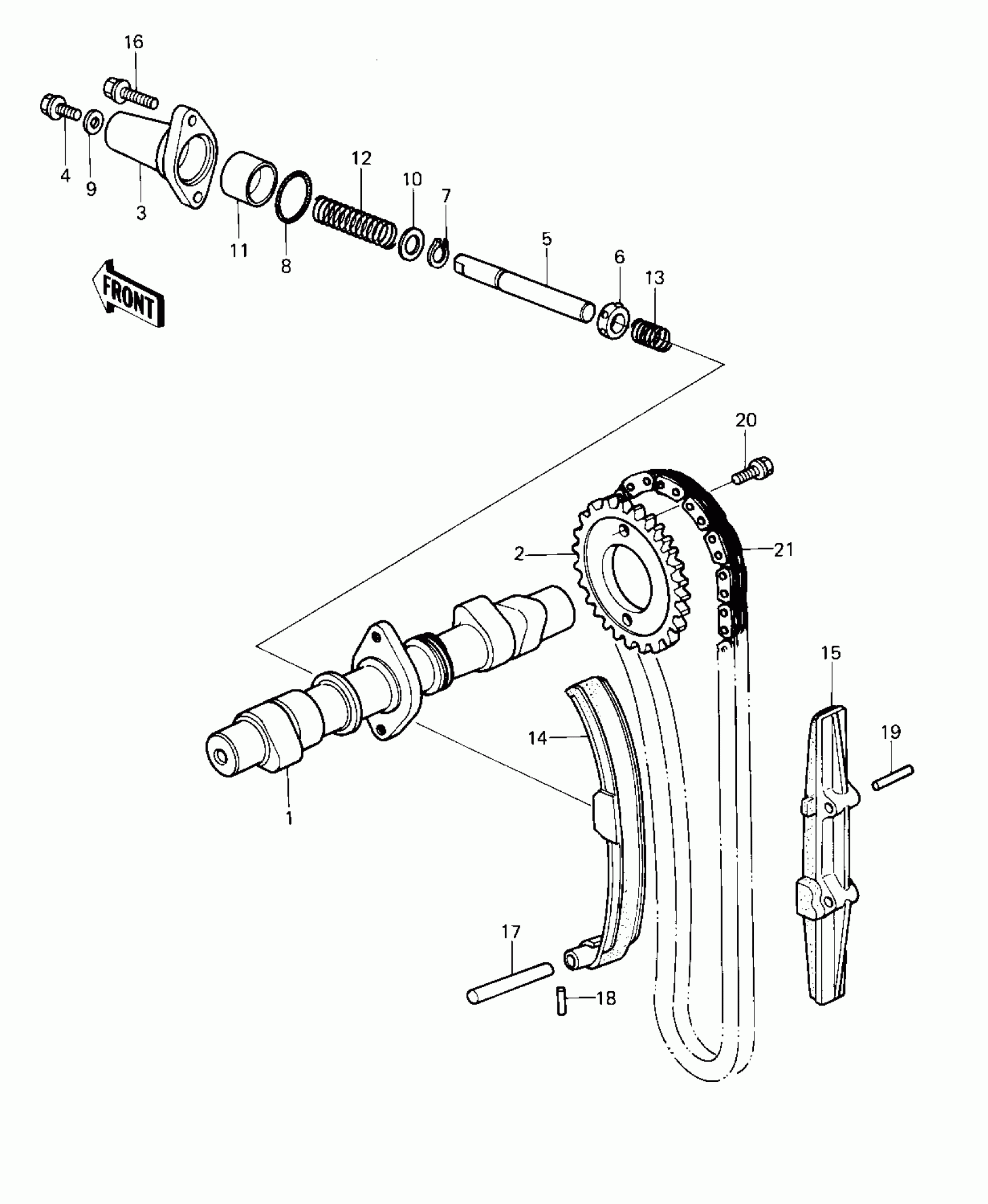
Kawasaki LTD Belt CAMSHAFT/CHAIN/TENSIONER ('80 D1) Diagram
#
Description
Price
1
CAMSHAFT,VALVE
12044-5001
Unavailable
2
SPROCKET,CAM,46T
12046-1022
Unavailable
3
TENSIONER,CAM CHAIN
12049-1010
Unavailable
4
BOLT-FLANGED,6X14
130N0614
Unavailable
5
ROD-PUSH,TENSIONER
13116-1022
Unavailable
12
SPRING,TENSIONER
92081-1206
Unavailable
14
GUIDE,CHAIN,FRONT
12053-1041
Unavailable
15
GUIDE,CHAIN,REAR
12053-1042
Unavailable
16
BOLT-FLANGED,6X20
130G0620
Unavailable
18
PIN,DOWEL,3X25
551A0325
Unavailable
19
PIN,DOWEL,5X32
551A0532
Unavailable
21
CHAIN,CAMSHAFT,114L
92057-1038
Unavailable
