- Partiron
- OEM Parts
- Suzuki
- All Terrain Vehicle
- 2001
- LT80 (2001)
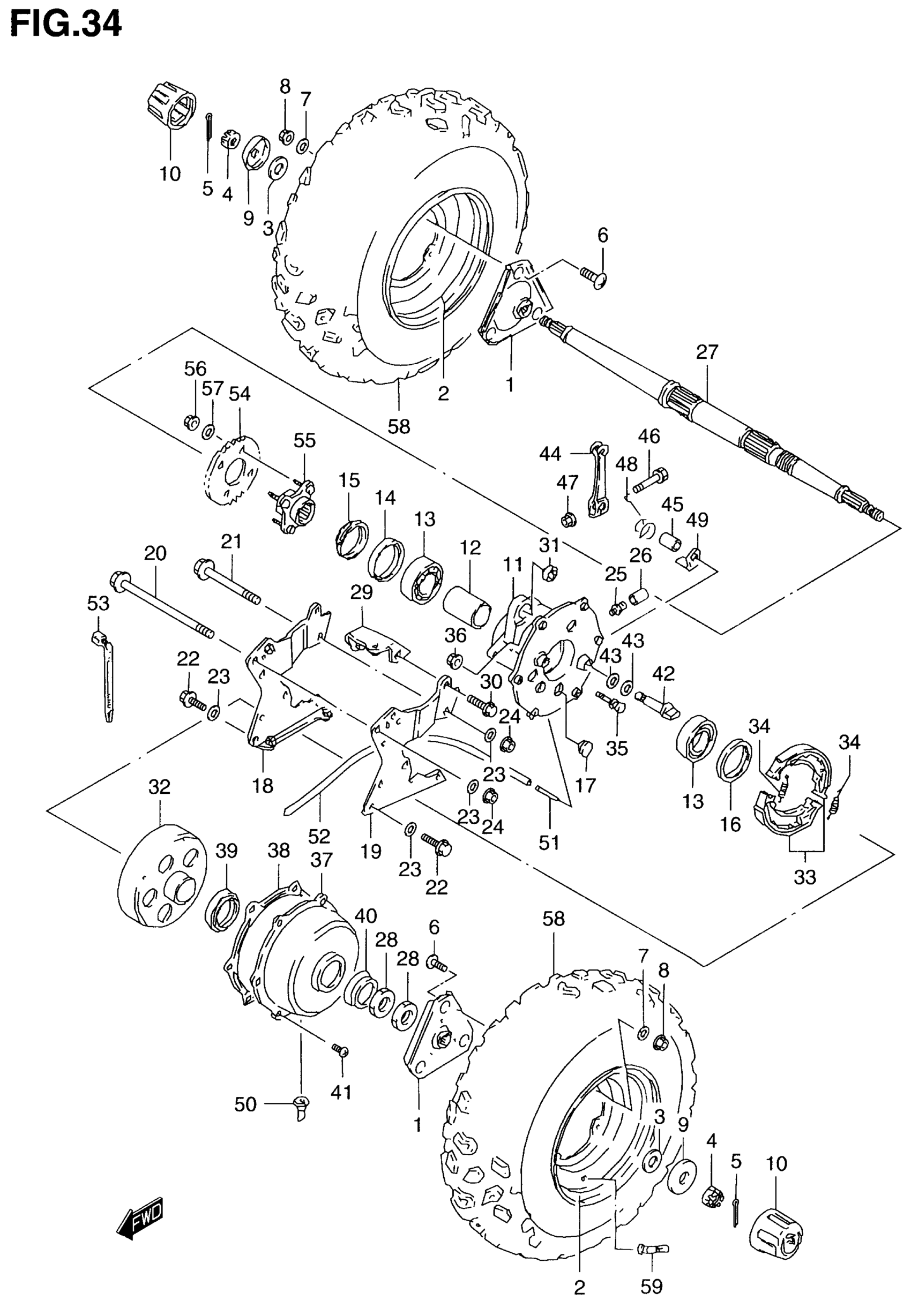
REAR WHEEL
Suzuki LT80 (2001) REAR WHEEL Diagram
#
Description
Price
2
RIM, REAR WHEEL (8X5.5AT) (WHITE)
55310-40B00-14L
Unavailable
11
HOUSING, AXLE BEARING
64721-40B00
Unavailable
18
PLATE, HOUSING RH
64770-40B00
Unavailable
19
PLATE, HOUSING LH
64780-40B00
Unavailable
29
PLATE, MUFFLER SUPPORT
64790-40B00
Unavailable
37
COVER, BRAKE DRUM
64130-40B00
Unavailable
44
LEVER, BRAKE CAM
64451-40B00
Unavailable
49
PLATE, INDICATOR
64492-40B00
Unavailable
51
JOINT
09364-06004
Unavailable
55
FLANGE, MOUNTING
64610-40B00
Unavailable
