Partiron

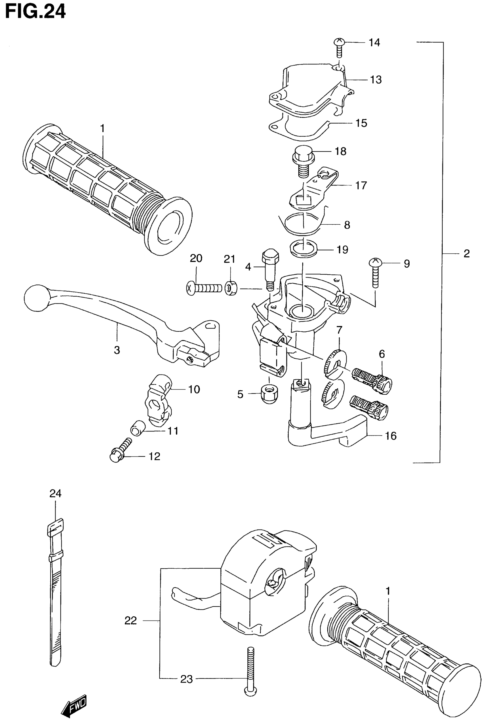
Suzuki LT80 (2001) FRONT BRAKE LEVER Diagram

#

Description
Price

1

GRIP This part replaces 57211-19A03-291.

57211-19A04-291

$11.75

2

LEVER ASSY,FRON | Includes Item(s) 3 - 21 This part replaces 57300-40B00.

57300-40B01

$65.06

3

LEVER, FRONT BRAKE

57421-40B00

$13.31

4

BOLT, BRAKE LEVER PIVOT

57431-49110

$6.31

5

.NUT This part replaces 08319-21063.

08319-2106B

$2.32

6

ADJUSTER, BRAKE CABLE

57441-26010

$4.48

7

NUT This part replaces 57442-44400.

57442-11010

$2.79

8

SPRING. THROTTLE LEVER

57159-40B00

$2.55

9

SCREW This part replaces 02112-06203.

02112-0620A

$1.49

10

EQUALIZER, BRAKE CABLE

57396-40B00

$12.15

11

SPACER (6.2X8.3X6.9)

09180-06194

$2.92

12

BOLT This part replaces 01550-06163.

01550-0616A

$1.97

13

CAP, THROTTLE CASE

57121-40B00

$17.37

14

SCREW This part replaces 02112-04103.

02112-0410A

$1.49

15

.GASKET, THROTTLE CASE This part replaces 57157-40B00.

57157-40B01

$4.12

16

LEVER, THROTTLE

57151-40B00

$18.43

17

LEVER, THROTTLE CABLE

57158-40B00

$4.17

18

BOLT (8X12) This part replaces 01550-08123.

01550-0812A

$2.32

19

.GASKET (14X20X1.5) | MODEL T/V This part replaces 09168-14012.

09168-14015

$2.03

19

.GASKET (14X20X1.5) | MODEL W/X/Y/K1

09168-14015

$2.03

20

SCREW

09125-05066

$1.65

21

NUT

09140-05006

$2.19

22

SWITCH ASSY,HAN | Includes Item(s) 23 This part replaces 37400-40B00.

37400-40B02

$95.97

23

SCREW

02112-05357

$1.49

24

BAND, HANDLE HARNESS

09407-12402

$3.04