- Partiron
- OEM Parts
- Suzuki
- All Terrain Vehicle
- 2001
- LT80 (2001)
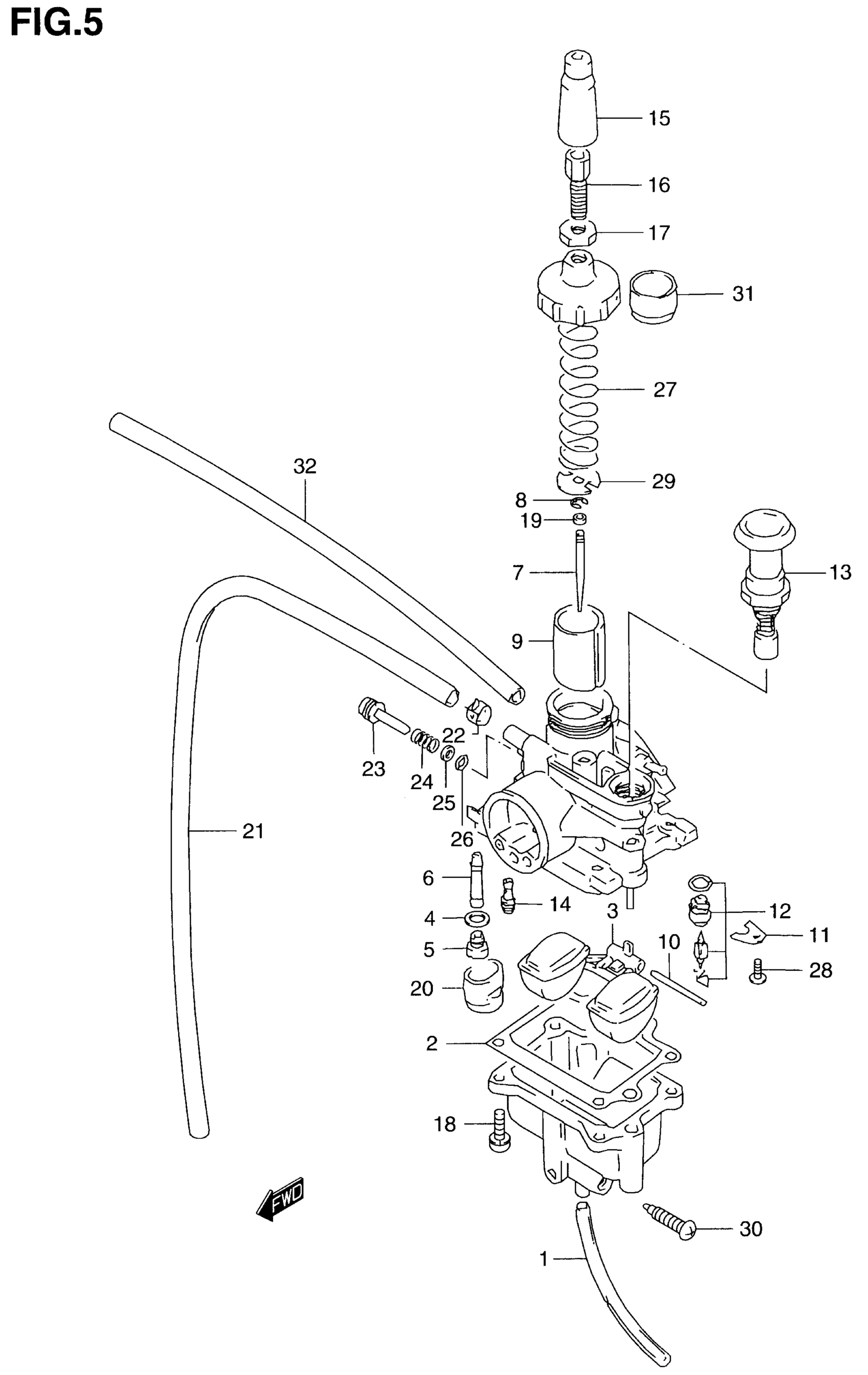
CARBURETOR
Suzuki LT80 (2001) CARBURETOR Diagram
#
Description
Price
9
VALVE, PISTON (CA:2.5)
13551-40B00
Unavailable
CARBURETOR
#
9
13551-40B00
Unavailable
Edit ride
