- Partiron
- OEM Parts
- Suzuki
- All Terrain Vehicle
- 1987
- LT50 (1987)
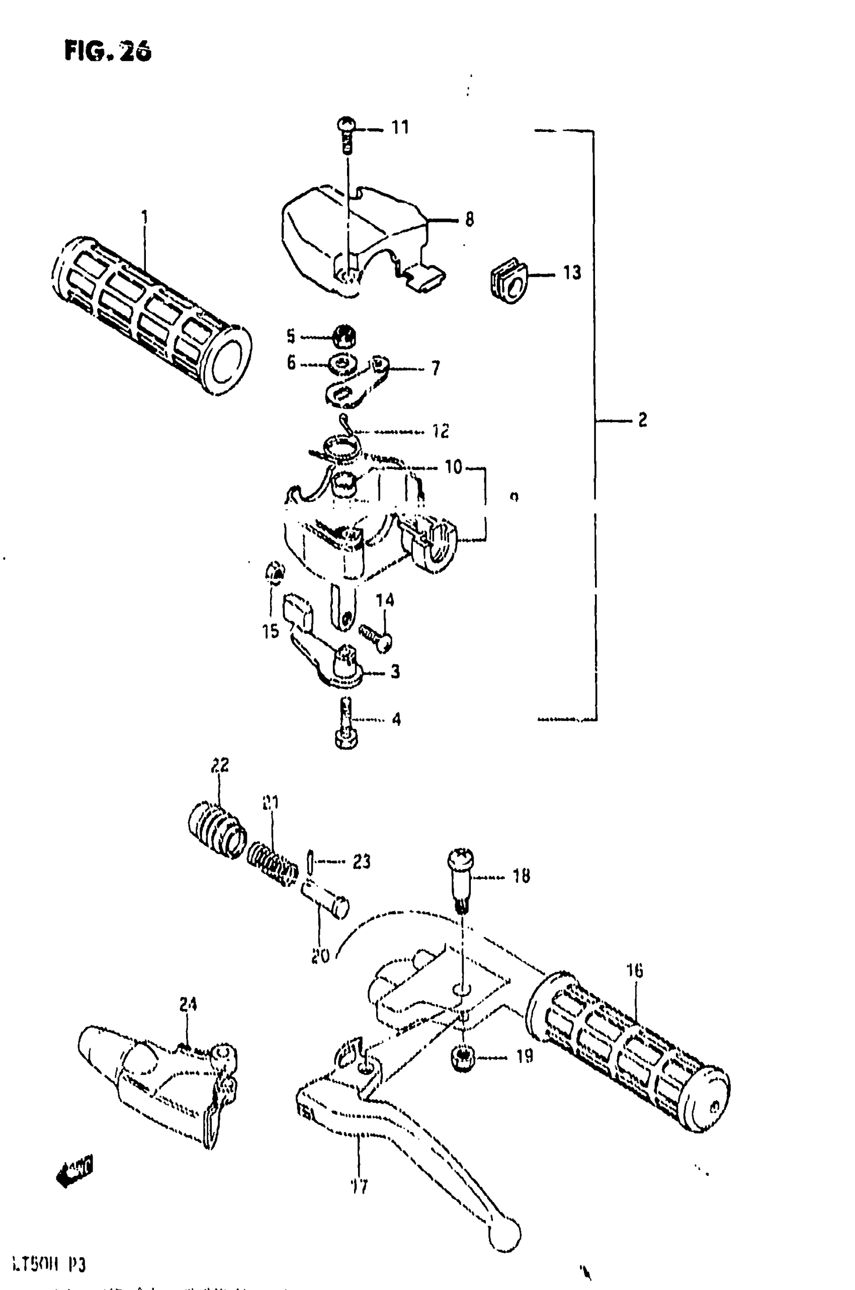
HANDLE GRIP (MODEL H)
Suzuki LT50 (1987) HANDLE GRIP (MODEL H) Diagram
#
Description
Price
7
ARM, THROTTLE LEVER
57114-04600
Unavailable
9
CASE, THROTTLE, LOWER
57130-04200
Unavailable
10
BUSH
57136-04600
Unavailable
12
SPRING, THROTTLE LEVER
57134-04600
Unavailable
13
DUST SEAL
58333-04200
Unavailable
22
COVER, REAR BRAKE LEVER
57784-04600
Unavailable
24
DUST COVER, BRAKE LEVER
57341-04600
Unavailable
