- Partiron
- OEM Parts
- Suzuki
- All Terrain Vehicle
- 1987
- LT50 (1987)
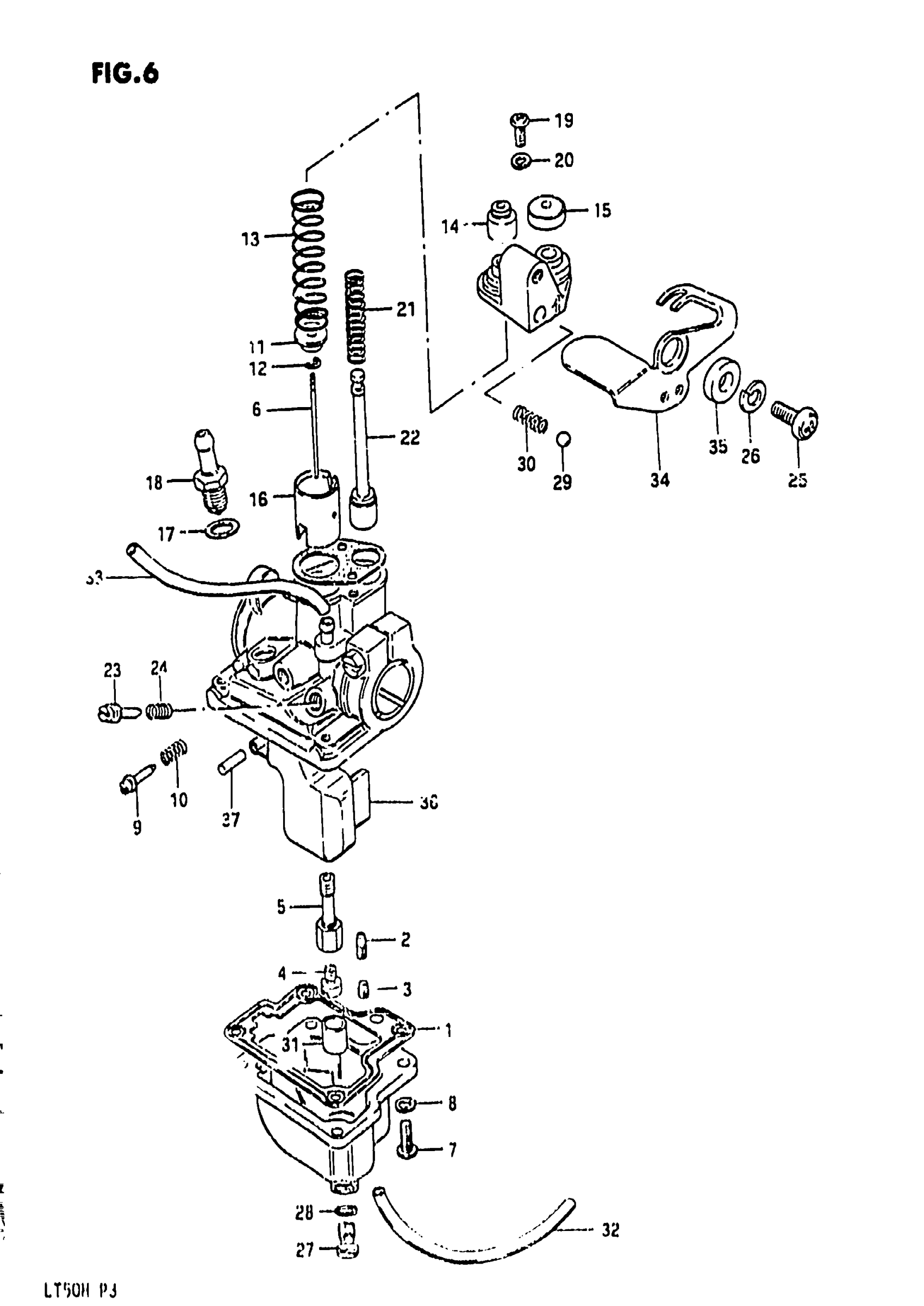
CARBURETOR
Suzuki LT50 (1987) CARBURETOR Diagram
#
Description
Price
13
SPRING, THROTTLE VALVE
13573-27630
Unavailable
16
VALVE, THROTTLE (CA:3.0)
13551-04430
Unavailable
34
LEVER, STARTER
13413-04420
Unavailable
