- Partiron
- OEM Parts
- Suzuki
- All Terrain Vehicle
- 1990
- LT250S (1990)
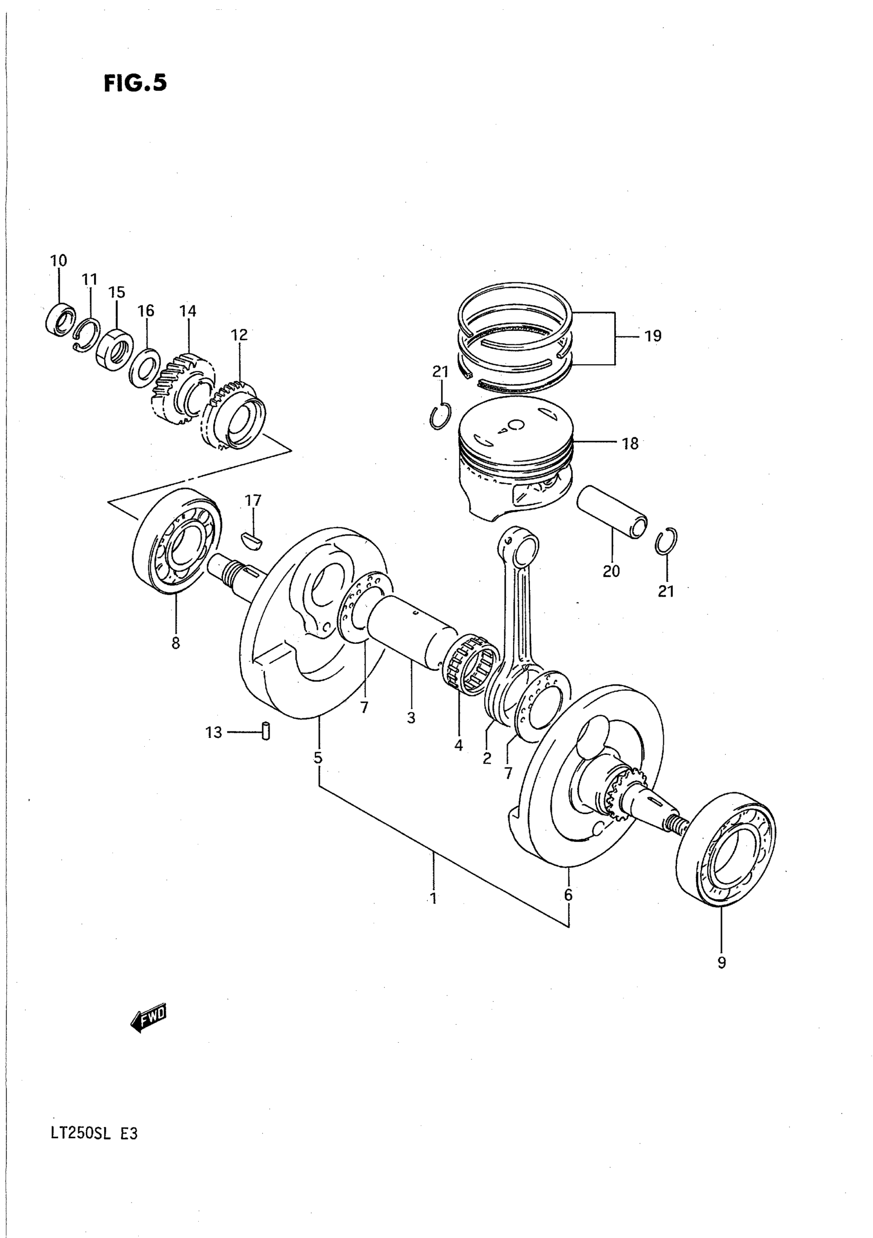
CRANKSHAFT
Suzuki LT250S (1990) CRANKSHAFT Diagram
#
Description
Price
1
CRANKSHAFT ASSY | Includes Item(s) 2 - 7
12200-25C00
Unavailable
2
ROD, CONNECTING
12161-25C00-0D0
Unavailable
5
CRANKSHAFT, RH
12221-25C00
Unavailable
6
CRANKSHAFT, LH
12261-25C00
Unavailable
12
GEAR, OIL PUMP DRIVE (NT:30)
16321-18902
Unavailable
14
GEAR, PRIMARY DRIVE (NT:21)
21111-22A02
Unavailable
18
PISTON SET (OS:0.1) | OPT This part replaces 12111-25C00-100.
12100-19B80-100
Unavailable
