- Partiron
- OEM Parts
- Suzuki
- All Terrain Vehicle
- 1992
- LT250R (1992)
REAR WHEEL (MODEL H/J/K/L/M/N)
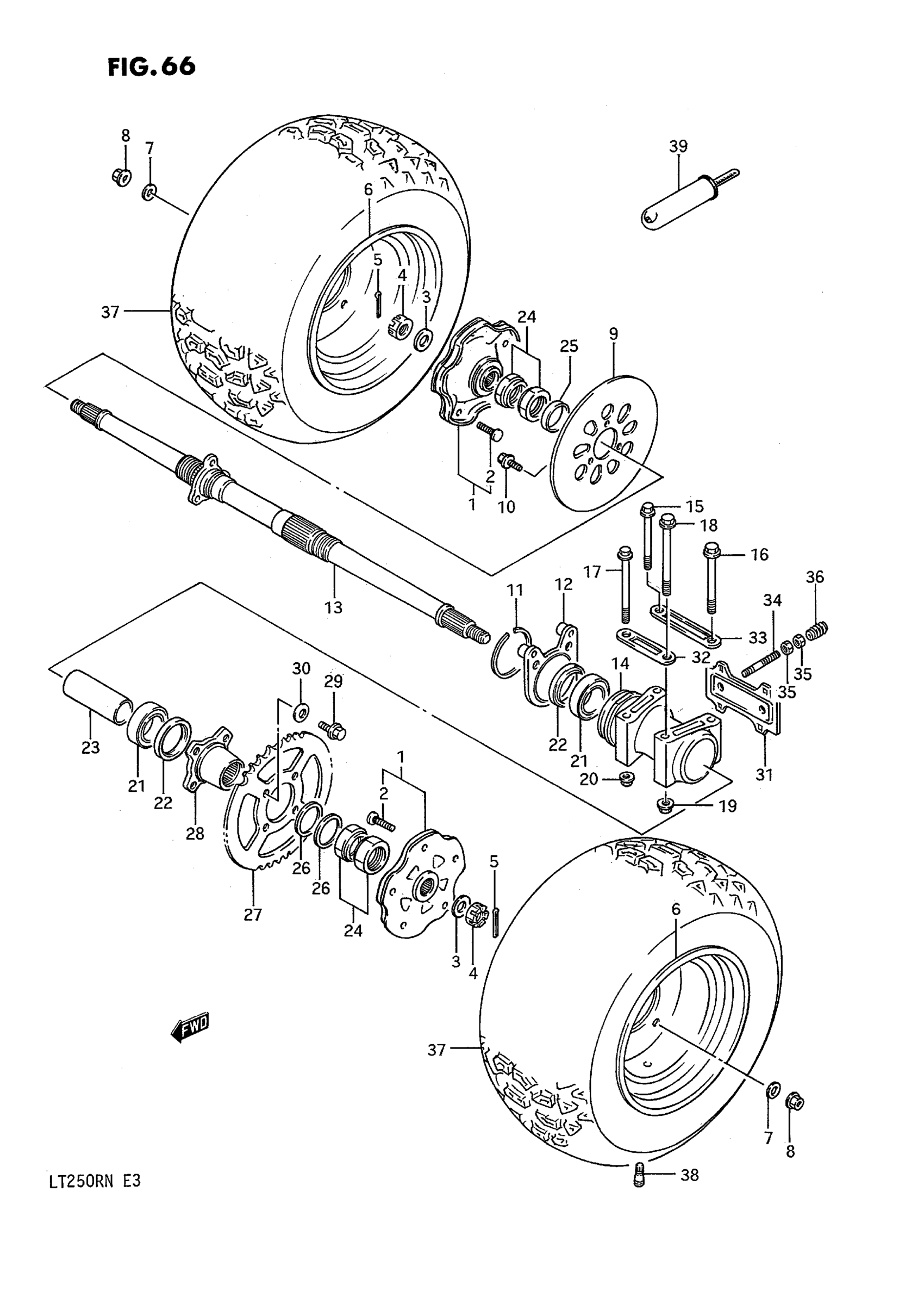
Suzuki LT250R (1992) REAR WHEEL (MODEL H/J/K/L/M/N) Diagram
#
Description
Price
1
HUB, REAR (25X24X1) (BLUE) | MODEL H/J
64110-01C10-19F
Unavailable
1
HUB, REAR (BLUE) | MODEL K/L/M/N; Includes Item(s) 2 This part replaces 64110-01C20-19F.
64110-43B00-19F
Unavailable
2
BOLT
09119-10047
Unavailable
6
RIM, REAR WHEEL (SILVER)
65310-43B00
Unavailable
9
DISC, REAR BRAKE
69211-01C00
Unavailable
11
CIRCLIP
69729-19A00
Unavailable
12
BRACKET, CALIPER
69720-22A10
Unavailable
13
AXLE, REAR (L:906) | MODEL H This part replaces 64710-01C00.
64710-01C01
Unavailable
13
AXLE, REAR (L:906) | MODEL J
64710-01C01
Unavailable
13
AXLE, REAR (L:894) | MODEL K/L
64710-01C10
Unavailable
13
AXLE, REAR (L:916) | MODEL M/N
64710-01C60
Unavailable
14
HOUSING, AXLE BEARING
64715-01C00
Unavailable
16
BOLT, REAR LH
09103-12027
Unavailable
18
BOLT, FRONT LH
09103-12026
Unavailable
23
SPACER, AXLE BEARING
64731-19A00
Unavailable
27
SPROCKET, REAR (NT:42)
64511-19A00
Unavailable
27
SPROCKET, REAR (NT:41) | OPT
64511-22A00
Unavailable
27
SPROCKET, REAR (NT:43) | OPT
64511-19A10
Unavailable
32
WASHER, FRONT
64718-01C00
Unavailable
33
WASHER, REAR
64719-01C00
Unavailable
37
TIRE, REAR (AT21X10-10) DUNLOP | MODEL H This part replaces 65100-01C30.
65100-01C51
Unavailable
37
TIRE, REAR (AT21X10-10) DUNLOP | MODEL J This part replaces 65100-01C31.
65100-01C51
Unavailable
37
TIRE, REAR (AT21X10-10) DUNLOP | MODEL H/J/K This part replaces 65100-01C50.
65100-01C51
Unavailable
37
TIRE, REAR (AT21X10-10) DUNLOP | MODEL L/M/N
65100-01C51
Unavailable
