Partiron

Suzuki LT250R (1992) FRONT MASTER CYLINDER (MODEL M/N) Diagram

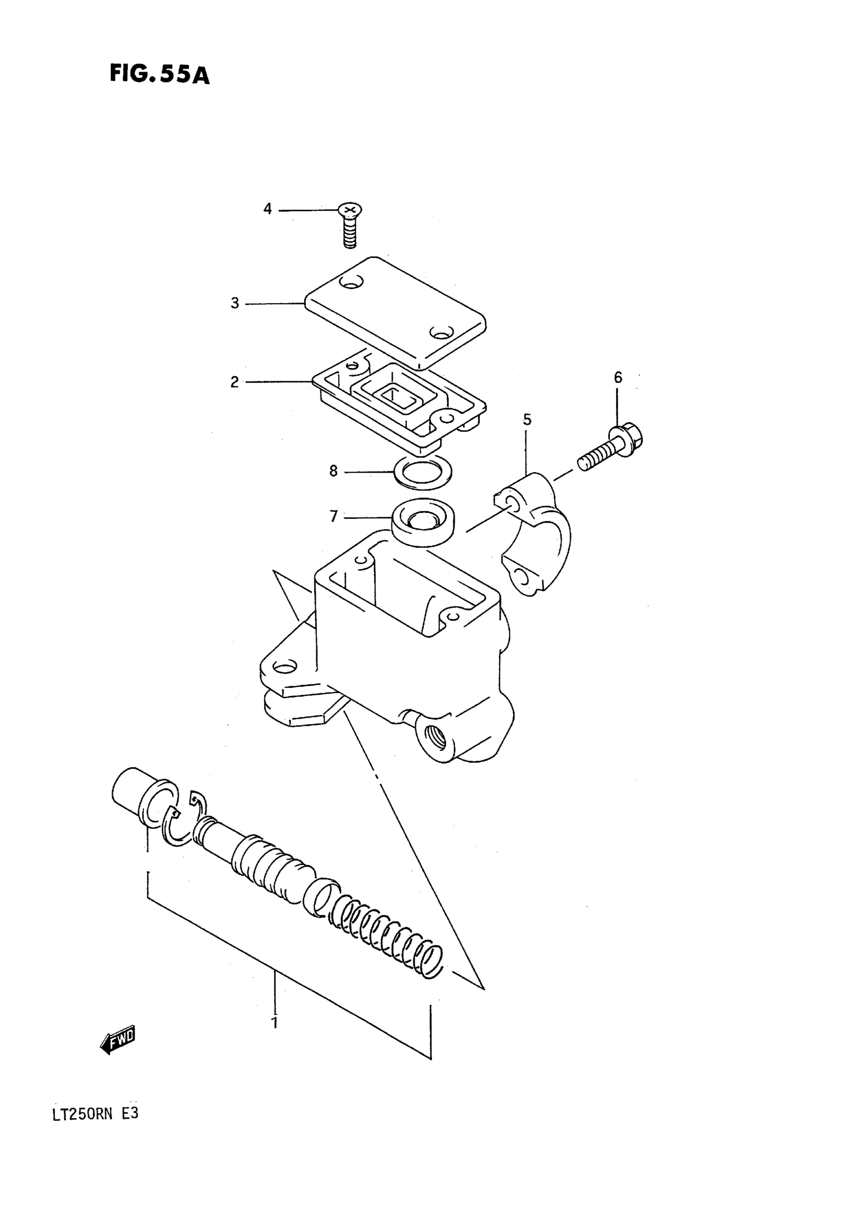
#

Description
Price

CYLINDER ASSY, FRONT MASTER | Includes Item(s) 1 - 8

59600-01C00

Unavailable

1

PISTON / CUP SET

59600-04810

$45.20

2

DIAPHRAGM

59667-44B00

$9.78

3

CAP

69669-24A01

$15.10

4

SCREW, CAP

69689-49300

$1.91

5

.HOLDER

59671-36500

$12.21

6

BOLT HOLDER SET

59675-19C00

$4.02

7

SEPARATOR

59748-15400

$9.38

8

PLATE

59749-15400

$2.79