- Partiron
- OEM Parts
- Suzuki
- All Terrain Vehicle
- 1986
- LT230GE (1986)
ELECTRICAL
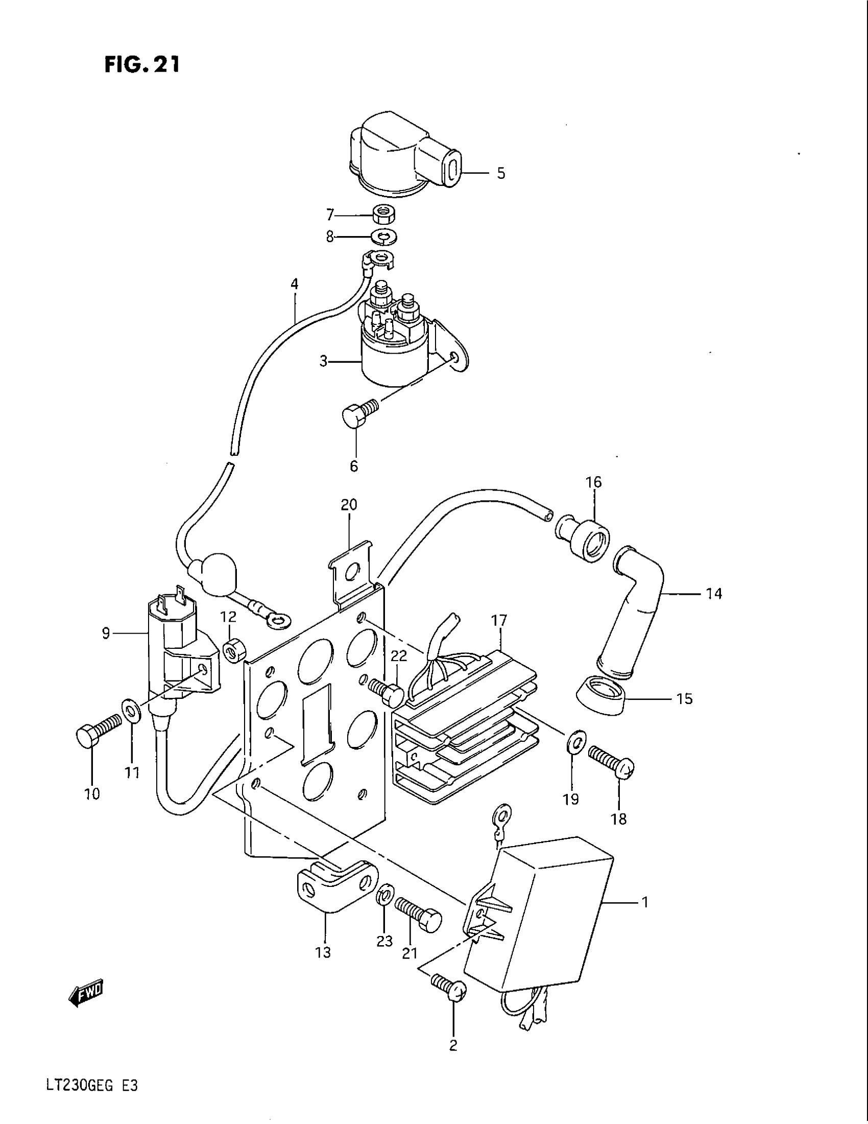
Suzuki LT230GE (1986) ELECTRICAL Diagram
#
Description
Price
1
C.D.I UNIT
32900-18A00
Unavailable
13
PLATE, COIL
47421-18A00
Unavailable
17
RECTIFIER ASSY This part replaces 32800-49430.
32800-43X51
Unavailable
20
HOLDER, ELECTRIC PARTS
47410-18A00
Unavailable
