- Partiron
- OEM Parts
- Suzuki
- All Terrain Vehicle
- 1993
- LT230E (1993)
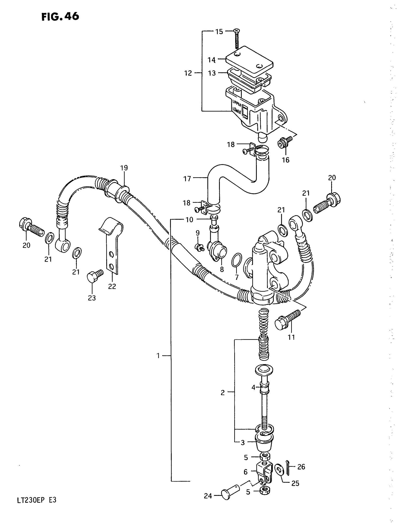
REAR MASTER CYLINDER
Suzuki LT230E (1993) REAR MASTER CYLINDER Diagram
#
Description
Price
1
CYLINDER ASSY, REAR MASTER (WHITE) | MODEL H/J !69600-22A01 This part replaces 69600-22A00.
69600-22A01
Unavailable
1
CYLINDER ASSY, REAR MASTER (WHITE) | MODEL K/L/M/N/P; Includes Item(s) 2 - 10
69600-22A01
Unavailable
4
ROD, PUSH
69670-00A00
Unavailable
6
YOKE | MODEL K/L/M/N/P
69692-22A00
Unavailable
10
CHOKE | MODEL K/L/M/N/P FOR 69600-22A01
69675-43B00
Unavailable
17
HOSE
69731-22A10
Unavailable
19
HOSE, REAR BRAKE
69480-35B01
Unavailable
22
GUIDE, HOSE
69243-35B01
Unavailable
24
PIN
09200-06055
Unavailable
