Partiron

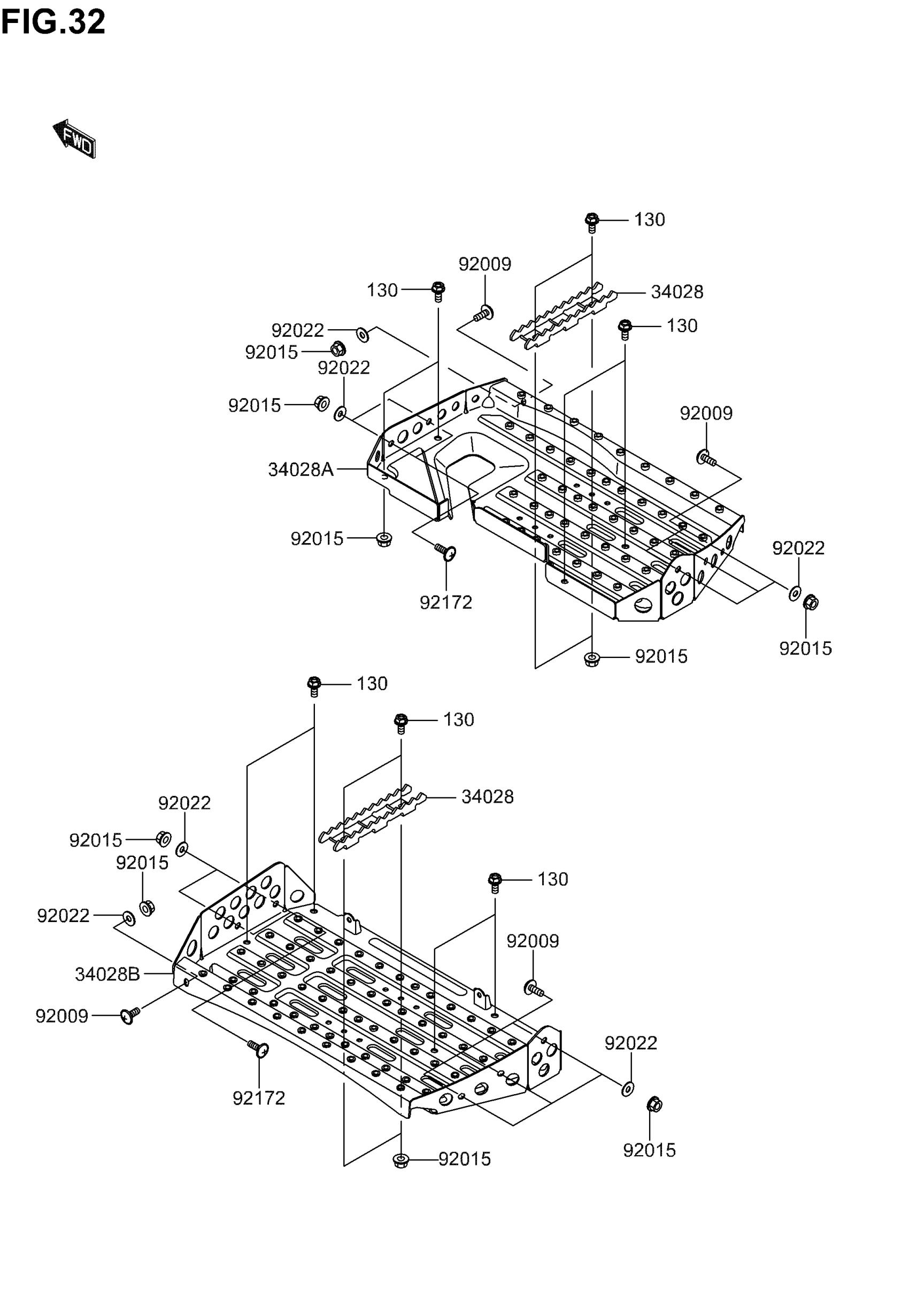
Suzuki LT-V700F (CA) (2005) FOOTREST Diagram

#

Description
Price

34028

STEP,FOOT PEG,BLACK

KK340-28148-710

Unavailable

34028A

STEP,RH,BLACK

KK340-28151-310

Unavailable

34028B

STEP,LH,BLACK

KK340-28152-110

Unavailable

92009

SCREW,6X16

K9200-91621

$1.70

92015

NUT,FLANGED,6MM

K9201-51367

$4.22

92022

WASHER,6.5X16X1.0

K9202-21093

Unavailable

92172

SCREW,6X18

K9217-20002

Unavailable

130

BOLT-FLANGED,6X14,BLACK

KK130-J0614

Unavailable