- Partiron
- OEM Parts
- Suzuki
- All Terrain Vehicle
- 2016
- LT-F400FL6 (2016)
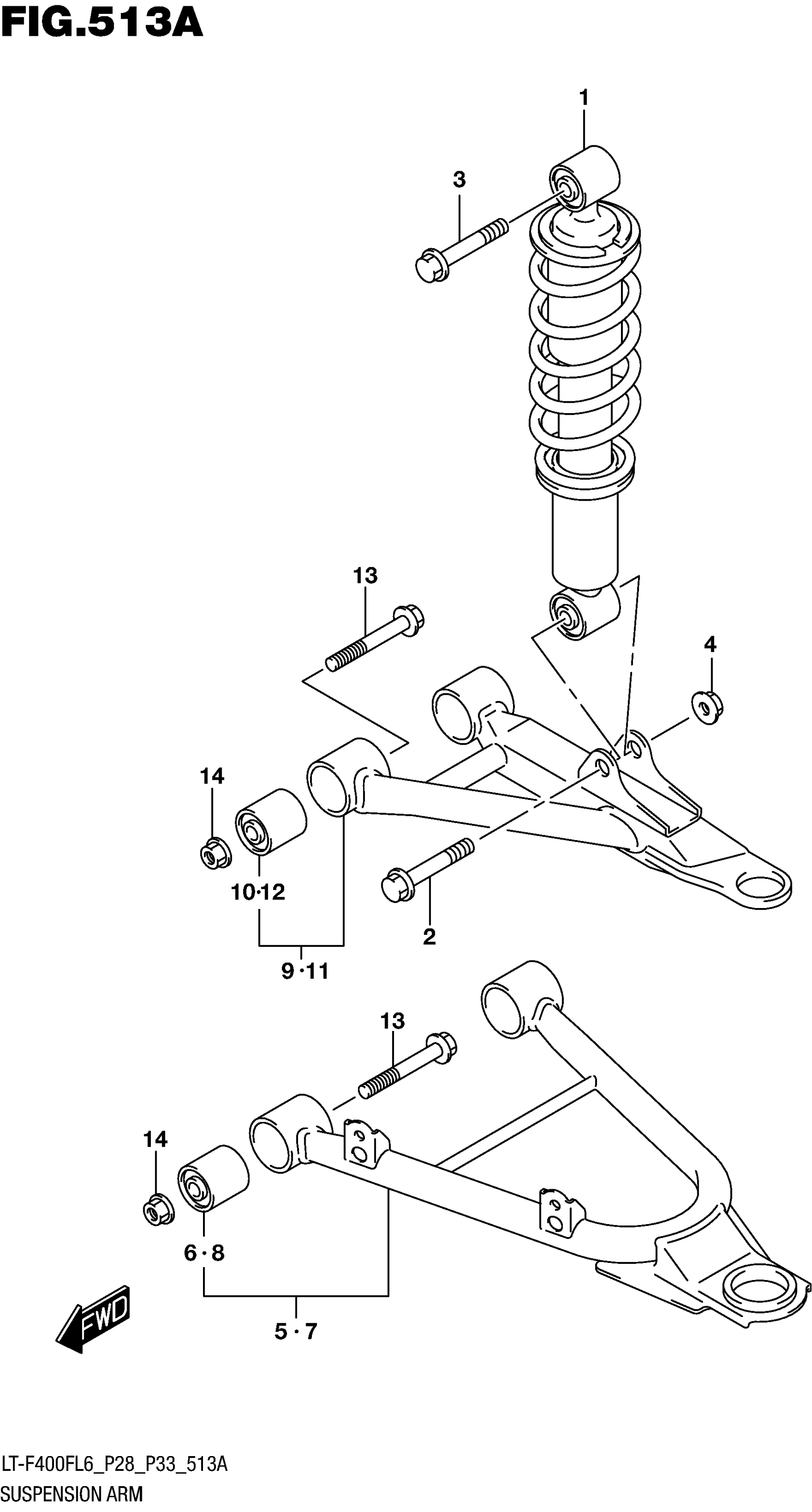
SUSPENSION ARM (LT-F400FL6 P28)
Suzuki LT-F400FL6 (2016) SUSPENSION ARM (LT-F400FL6 P28) Diagram
#
Description
Price
SUSPENSION ARM (LT-F400FL6 P28)
#
Edit ride
