- Partiron
- OEM Parts
- Suzuki
- All Terrain Vehicle
- 2016
- LT-F400FL6 (2016)
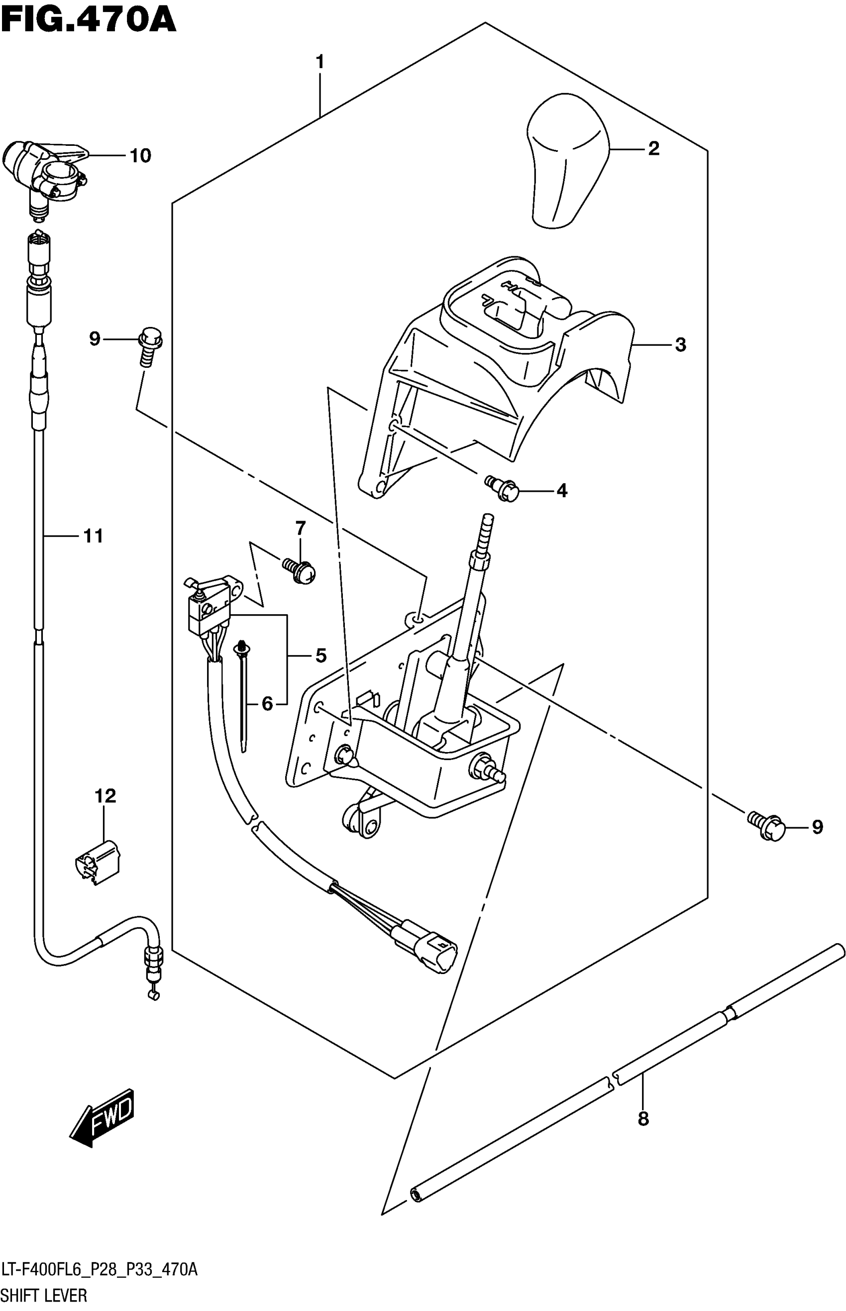
SHIFT LEVER (LT-F400FL6 P28)
Suzuki LT-F400FL6 (2016) SHIFT LEVER (LT-F400FL6 P28) Diagram
#
Description
Price
7
.SCREW
02112-7310A
Unavailable
8
ROD,T/M LEVER
57911-27H00
Unavailable
