- Partiron
- OEM Parts
- Suzuki
- All Terrain Vehicle
- 2016
- LT-F400FL6 (2016)
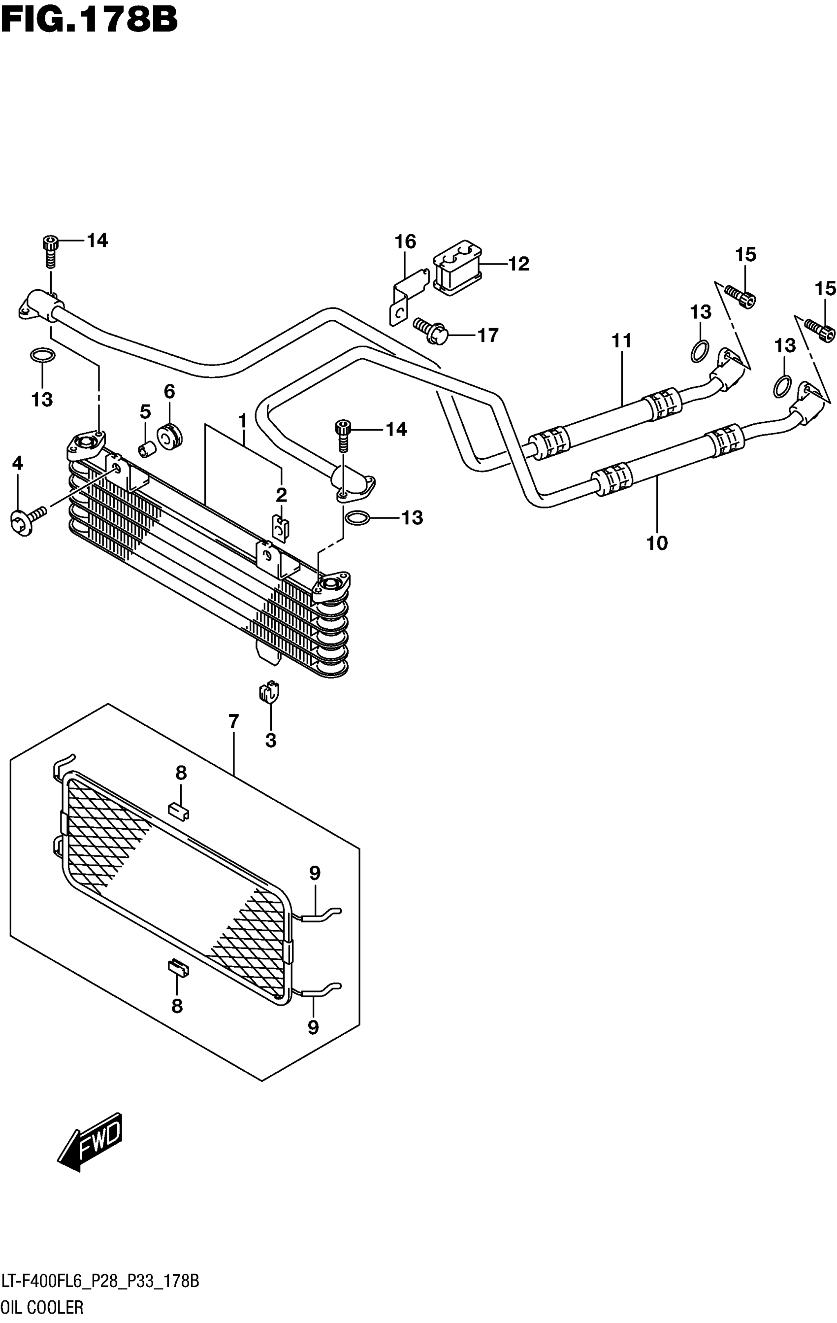
OIL COOLER (LT-F400FL6 P33)
Suzuki LT-F400FL6 (2016) OIL COOLER (LT-F400FL6 P33) Diagram
#
Description
Price
8
.PROTECTOR, CENTER
16654-27H00
Unavailable
16
CLAMP,OIL HOSE
16490-38F00
Unavailable
