- Partiron
- OEM Parts
- Suzuki
- All Terrain Vehicle
- 2014
- LT-F400FL4 (2014)
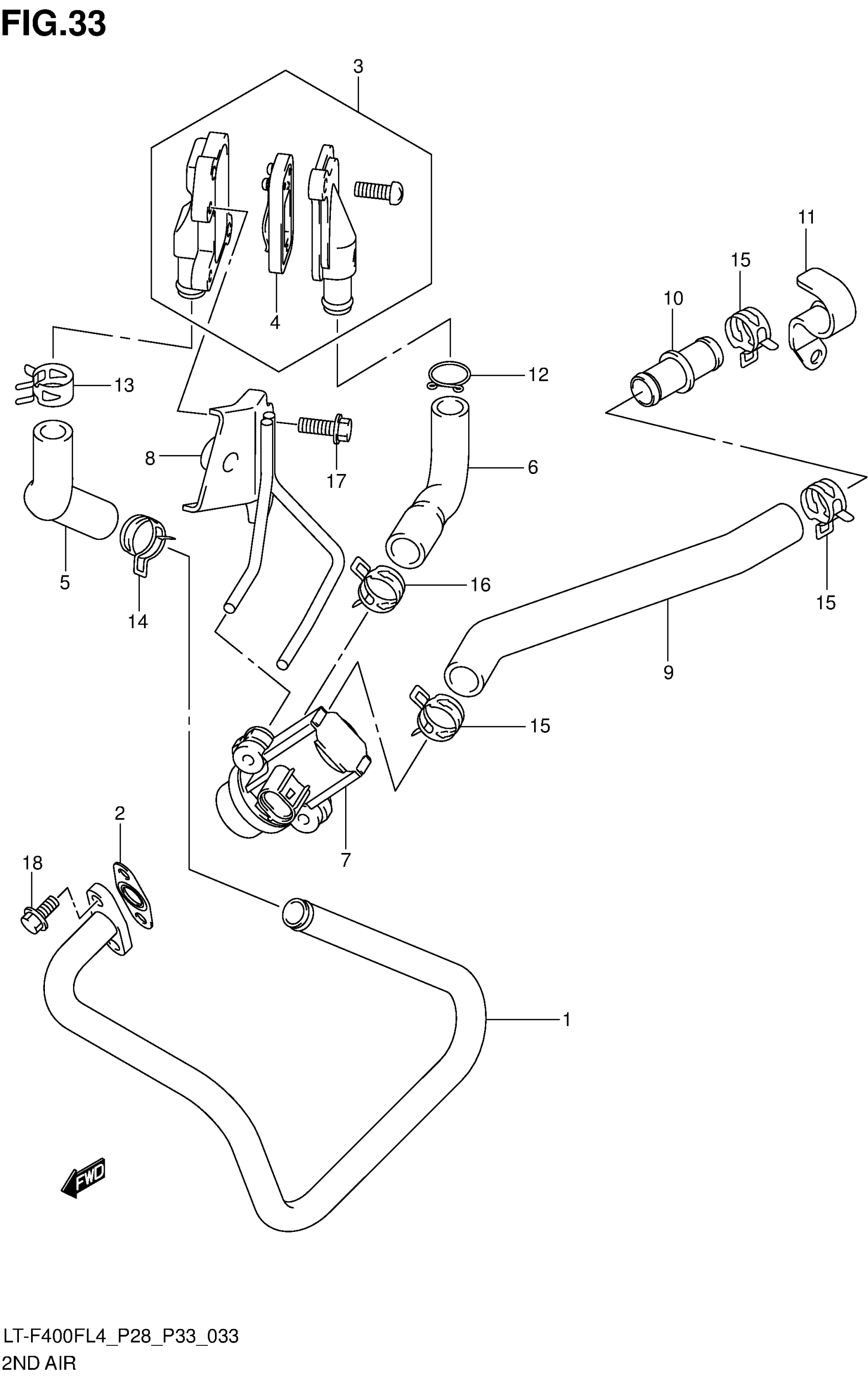
2ND AIR (LT-F400FL4 P33)
Suzuki LT-F400FL4 (2014) 2ND AIR (LT-F400FL4 P33) Diagram
#
Description
Price
5
HOSE, 2ND AIR VALVE
18461-27H00
Unavailable
6
HOSE, 2ND AIR SWITCHING VALVE
18481-27H00
Unavailable
10
JOINT, 2ND AIR CLEANER HOSE
18713-39G00
Unavailable
11
GUIDE, 2ND AIR CLEANER HOSE
18715-27H00
Unavailable
