- Partiron
- OEM Parts
- Suzuki
- All Terrain Vehicle
- 2017
- LT-F400F FSI L7 (2017)
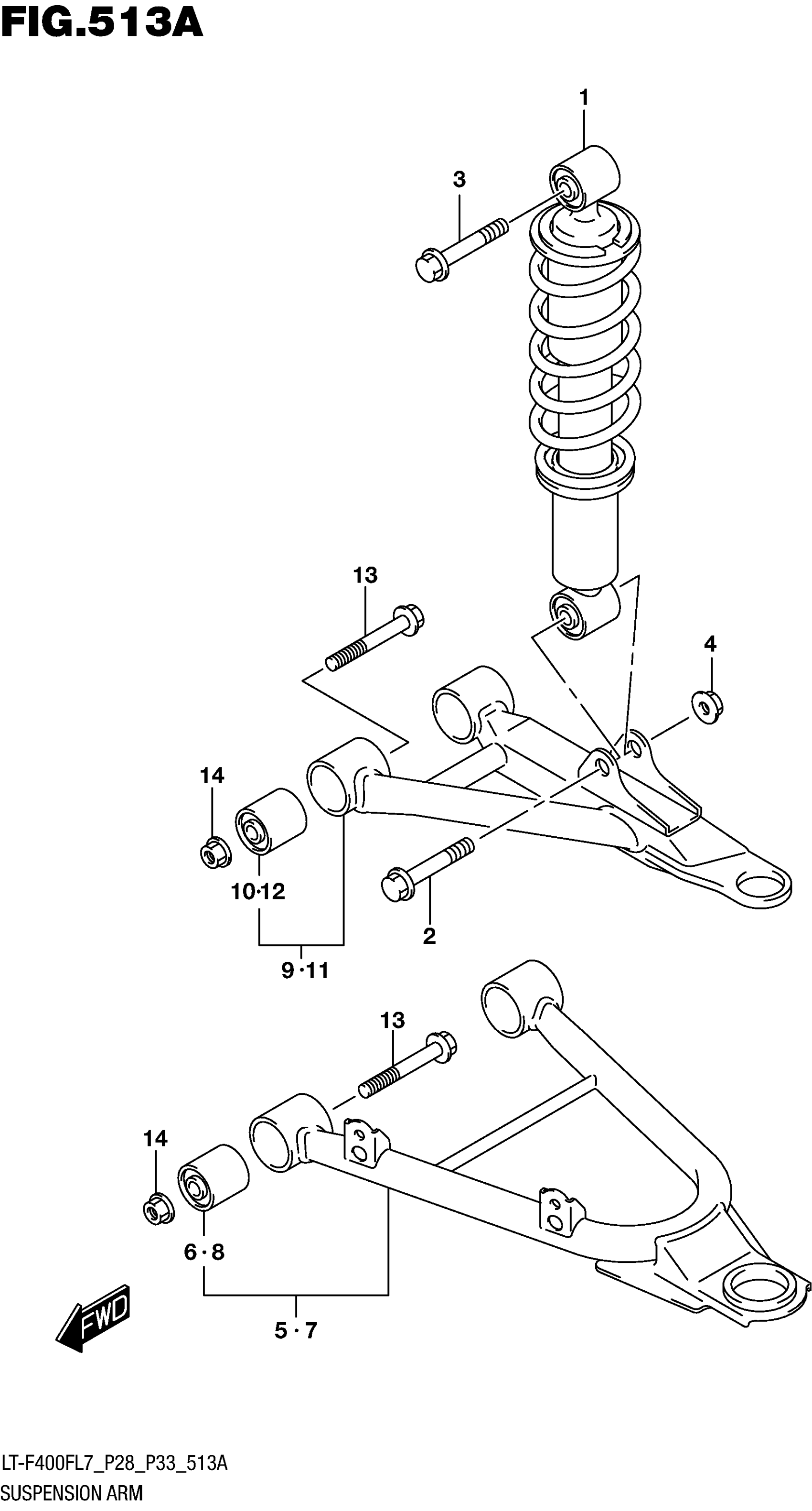
SUSPENSION ARM (LT-F400FL7 P28)
Suzuki LT-F400F FSI L7 (2017) SUSPENSION ARM (LT-F400FL7 P28) Diagram
#
Description
Price
SUSPENSION ARM (LT-F400FL7 P28)
#
Edit ride
