- Partiron
- OEM Parts
- Suzuki
- All Terrain Vehicle
- 2002
- LT-F400F (2002)
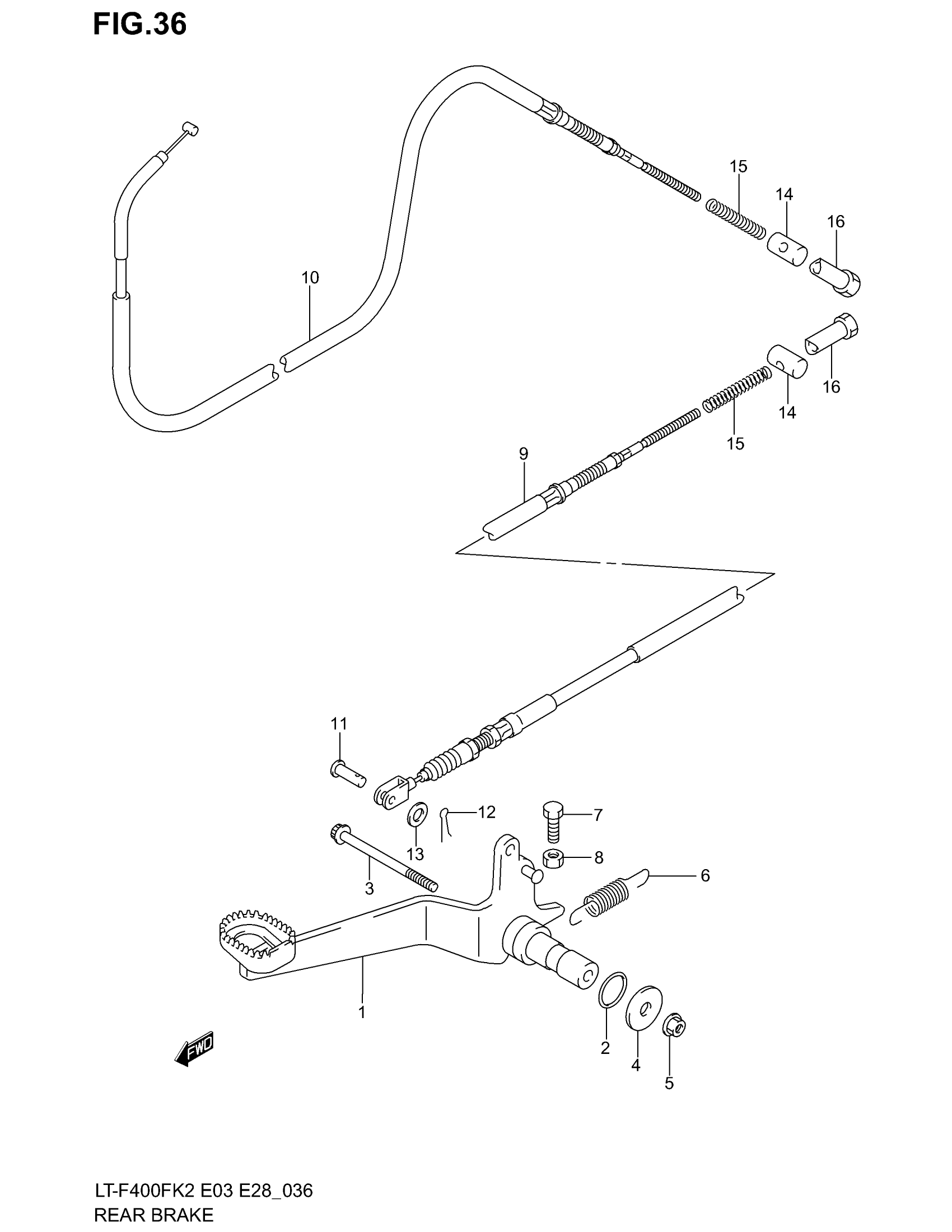
REAR BRAKE
Suzuki LT-F400F (2002) REAR BRAKE Diagram
#
Description
Price
1
PEDAL, BRAKE
43110-38F20
Unavailable
REAR BRAKE
#
1
43110-38F20
Unavailable
Edit ride
