- Partiron
- OEM Parts
- Suzuki
- All Terrain Vehicle
- 2007
- LT-F400 (2007)
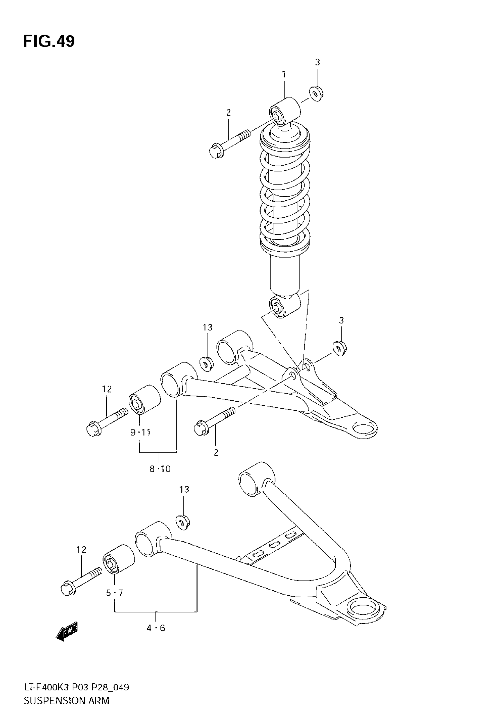
SUSPENSION ARM
Suzuki LT-F400 (2007) SUSPENSION ARM Diagram
#
Description
Price
1
ABSORBER ASSY, FRONT SHOCK (BLACK) | %F.NO.5SAAK45A3X102000
52100-38F00-019
Unavailable
1
ABSORBER ASSY, | F.NO.5SAAK45A3X102001% This part replaces 52100-38F50-019.
52100-38F51-019
Unavailable
1
ABSORBER ASSY, FRONT SHOCK (BLACK) | MODEL K5
52100-38F70-019
Unavailable
1
ABSORBER ASSY, FRONT SHOCK (BLACK) | MODEL K6/K7
52100-38FA0-019
Unavailable
4
ARM SET, SUSPENSION LOWER RH | %F.NO.5SAAK45A3X102000 This part replaces 52410-38830.
52410-38850
Unavailable
4
ARM SET, SUSPENSION LOWER RH | F.NO.5SAAK45A3X102001%; Includes Item(s) 5
52410-38850
Unavailable
6
ARM SET, SUSPENSION LOWER LH | %F.NO.5SAAK45A3X102000 This part replaces 52420-38830.
52420-38850
Unavailable
6
ARM SET, SUSPENSION LOWER LH | F.NO.5SAAK45A3X102001%; Includes Item(s) 7
52420-38850
Unavailable
8
ARM SET, SUSPENSION UPPER RH | %F.NO.5SAAK45A3X102000 This part replaces 52430-38820.
52430-38830
$322.60
10
ARM SET, SUSPENSION UPPER LH | %F.NO.5SAAK45A3X102000 This part replaces 52440-38820.
52440-38830
$322.60
