- Partiron
- OEM Parts
- Suzuki
- All Terrain Vehicle
- 2007
- LT-F400 (2007)
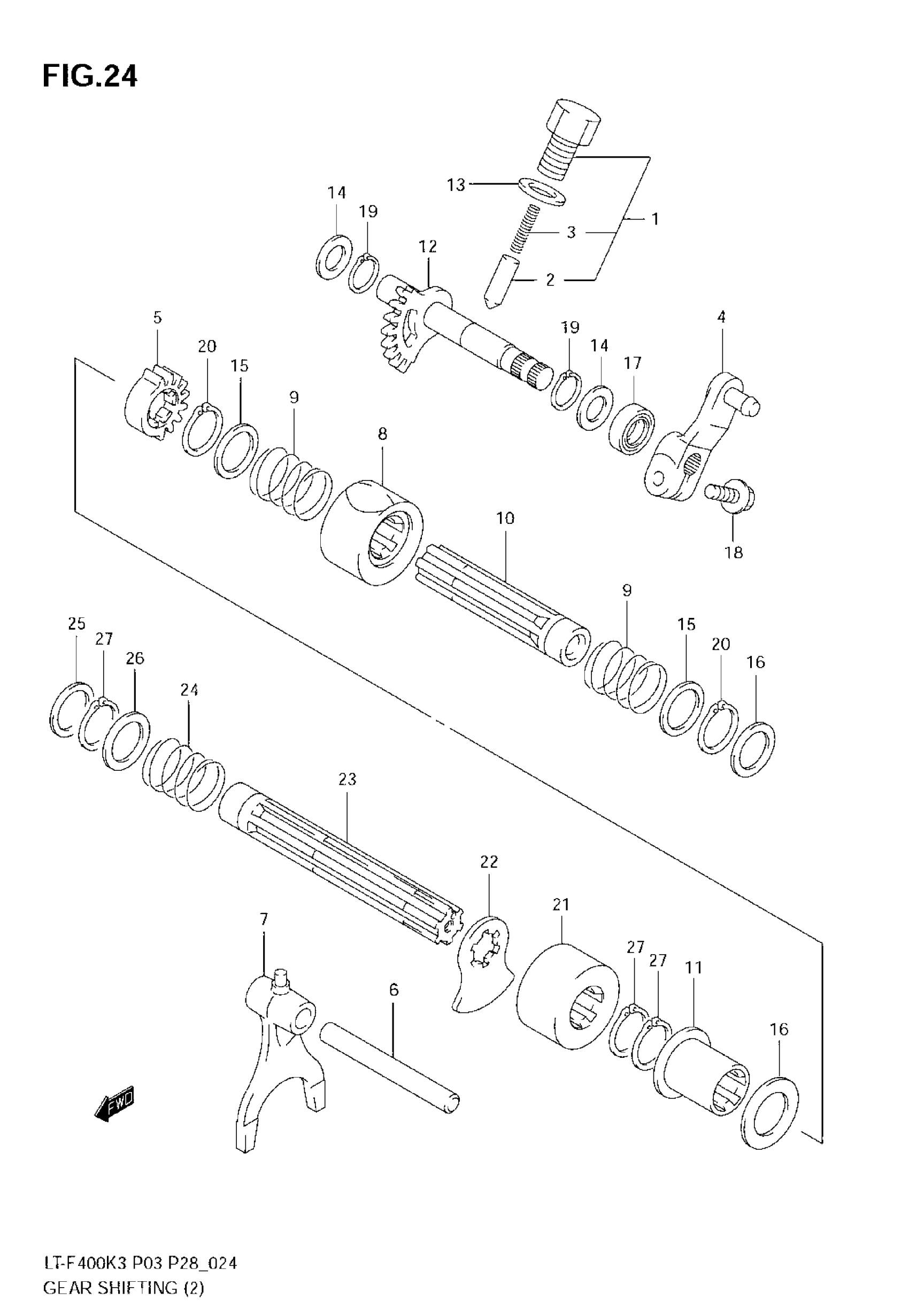
GEAR SHIFTING (2)(MODEL K3)
Suzuki LT-F400 (2007) GEAR SHIFTING (2)(MODEL K3) Diagram
#
Description
Price
4
ARM, SUB T/M GEAR SHIFT | %F.NO.5SAAK45A3X102000
25360-03G20
Unavailable
4
ARM, SUB T/M GEAR SHIFT | F.NO.5SAAK45A3X102001%
25360-38F60
Unavailable
6
SHAFT, SUB T/M GEAR
25421-14330
Unavailable
7
FORK,SUB T/M GEAR SHIFT
29511-38F50
Unavailable
8
CAM, SUB T/M GEAR
29611-38F50
Unavailable
10
SHAFT,SUB T/M GEAR SHIFT
29620-38F50
Unavailable
11
JOINT,SHIFT CAM SHAFT
29625-38F50
Unavailable
21
CAM, REVERSE SHIFT | %F.NO.5SAAK45A3X102000
25321-38F50
Unavailable
21
CAM, REVERSE SHIFT | F.NO.5SAAK45A3X102001%
25321-38F60
Unavailable
22
PLATE, SHIFT CAM LOCK
25322-38F50
Unavailable
23
SHAFT, REVERSE CAM
25531-38F50
Unavailable
