- Partiron
- OEM Parts
- Suzuki
- All Terrain Vehicle
- 2002
- LT-F400 (2002)
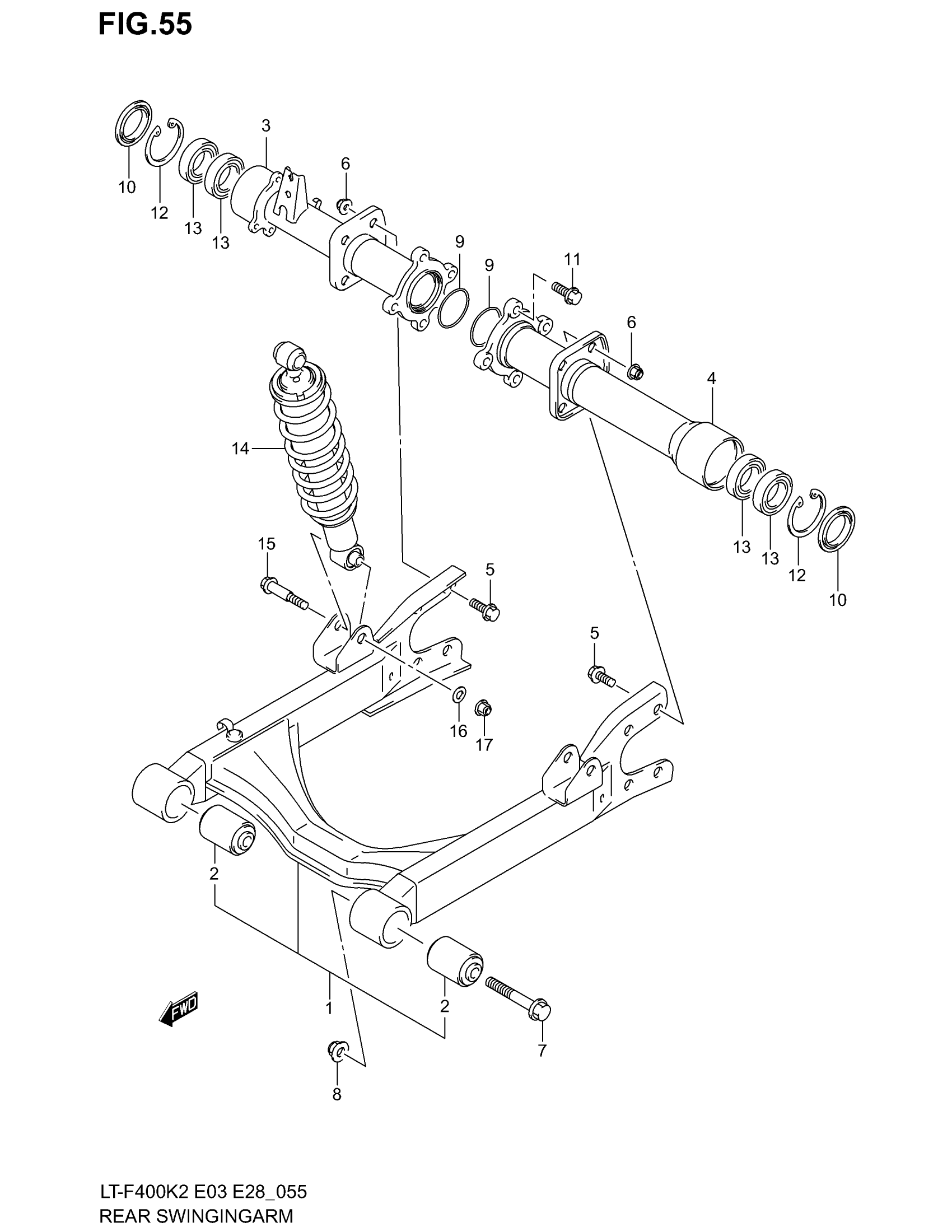
REAR SWINGINGARM
Suzuki LT-F400 (2002) REAR SWINGINGARM Diagram
#
Description
Price
14
ABSORBER ASSY, REAR SHOCK (BLACK)
62100-38F00-019
Unavailable
