- Partiron
- OEM Parts
- Suzuki
- All Terrain Vehicle
- 2006
- LT-F250 (2006)
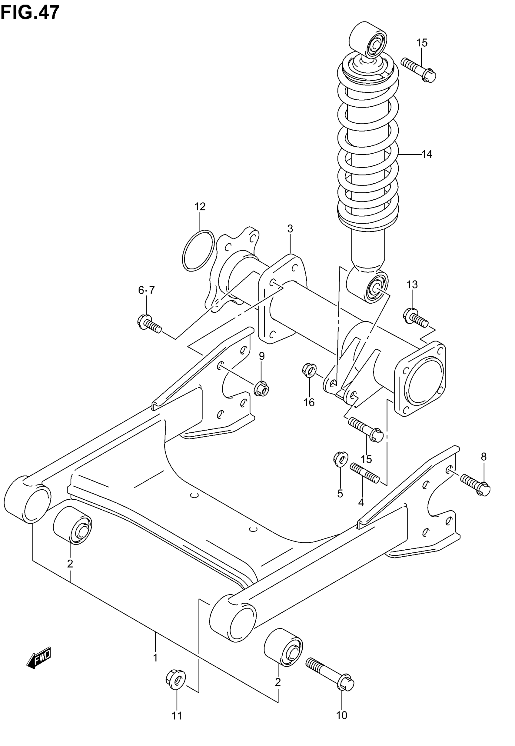
REAR SWINGINGARM (MODEL K2/K3/K4)
Suzuki LT-F250 (2006) REAR SWINGINGARM (MODEL K2/K3/K4) Diagram
#
Description
Price
1
SWINGINGARM SET, REAR | Includes Item(s) 2
61100-05840
Unavailable
3
HOUSING, RR AXLE, R | MODEL K2/K3 This part replaces 61300-05G00.
61300-05G20
Unavailable
3
HOUSING, RR AXLE, R | MODEL K4 This part replaces 61300-05G10.
61300-05G20
Unavailable
14
ABSORBER ASSY, REAR SHOCK (BLACK) | MODEL K2/K3
62100-05G00-019
Unavailable
