- Partiron
- OEM Parts
- Suzuki
- All Terrain Vehicle
- 2006
- LT-F250 (2006)
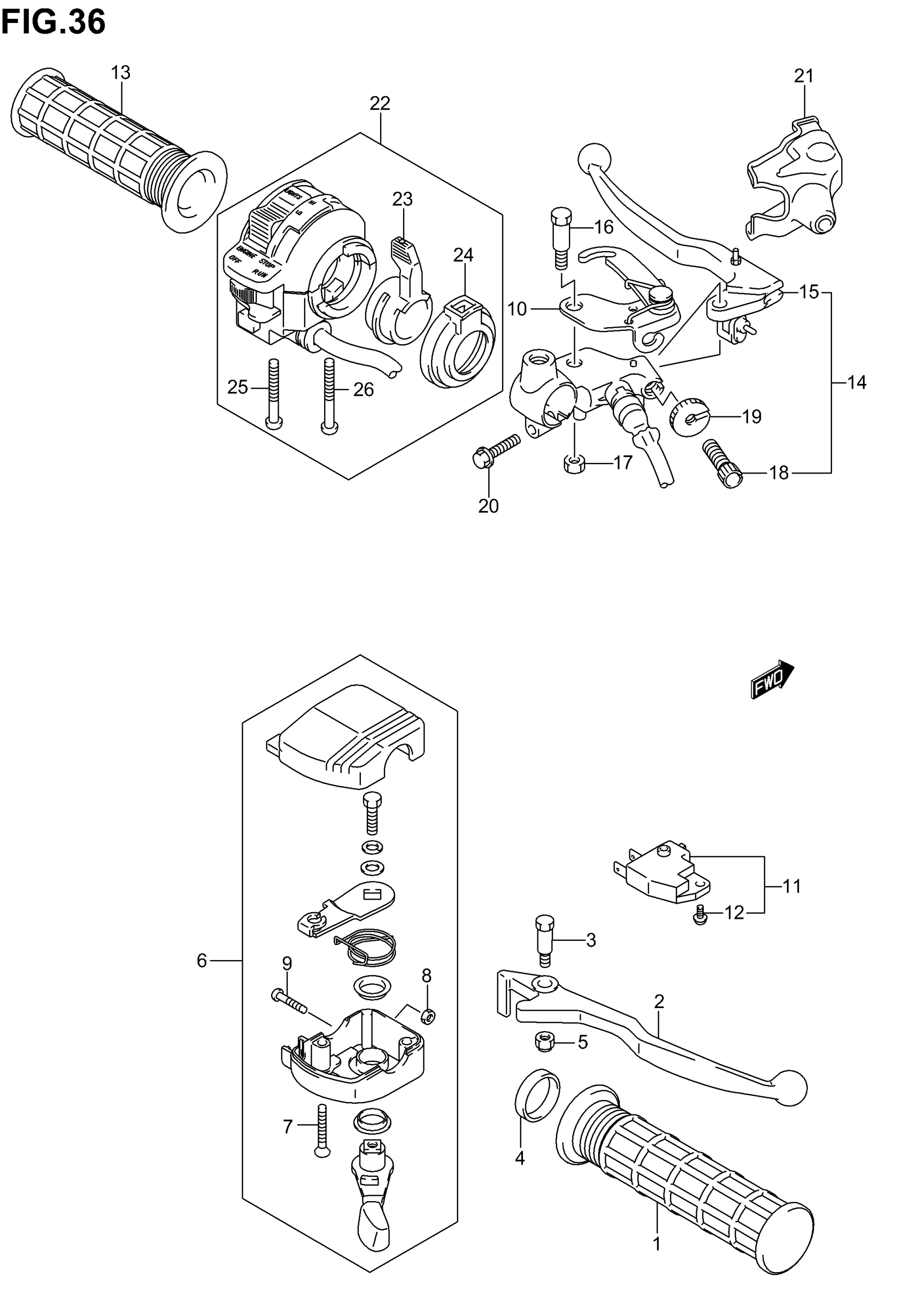
HANDLE LEVER (MODEL K2/K3)
Suzuki LT-F250 (2006) HANDLE LEVER (MODEL K2/K3) Diagram
#
Description
Price
4
SPACER
57349-38F00
Unavailable
