- Partiron
- OEM Parts
- Suzuki
- All Terrain Vehicle
- 2013
- LT-A750XPL3 (2013)
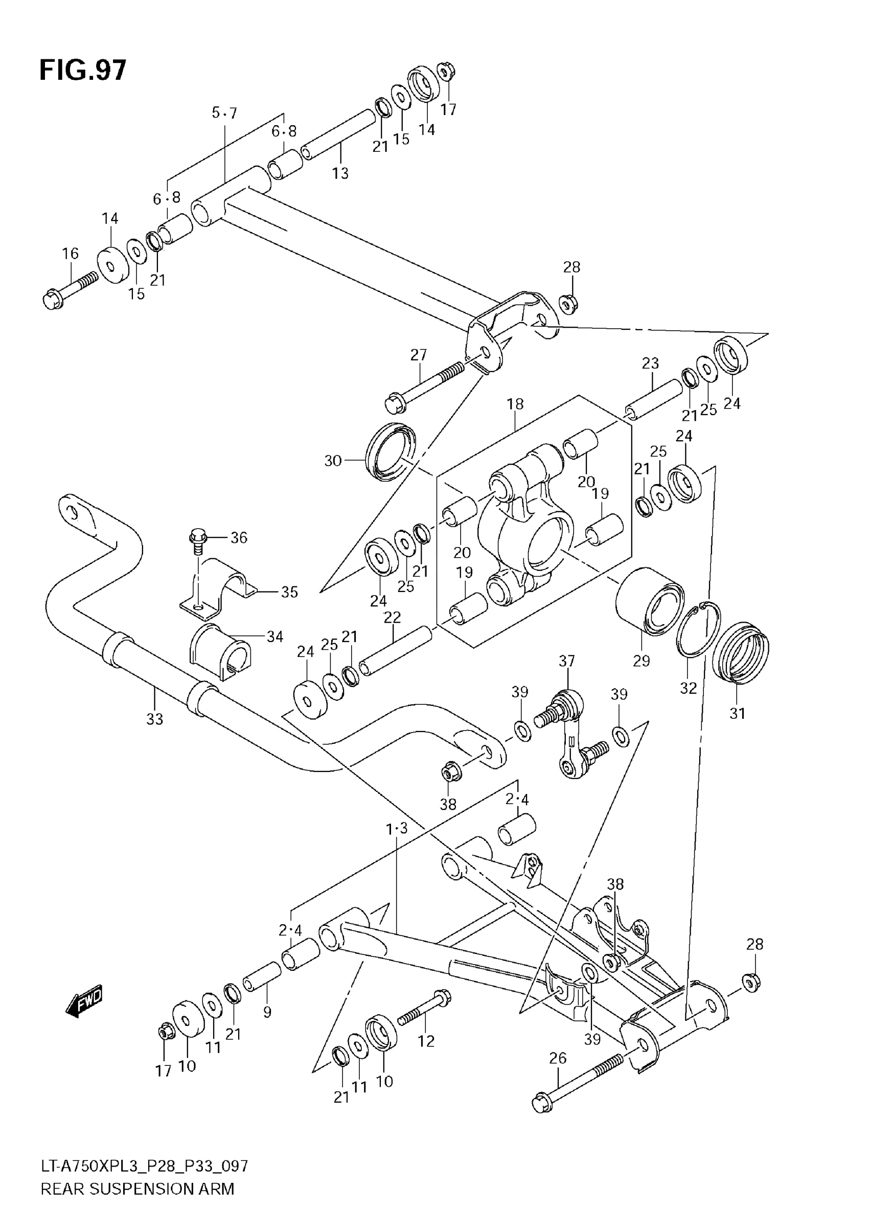
REAR SUSPENSION ARM
Suzuki LT-A750XPL3 (2013) REAR SUSPENSION ARM Diagram
#
Description
Price
35
PLATE, RR STABILIZER
61650-31G00
Unavailable
