- Partiron
- OEM Parts
- Suzuki
- All Terrain Vehicle
- 2013
- LT-A750XPL3 (2013)
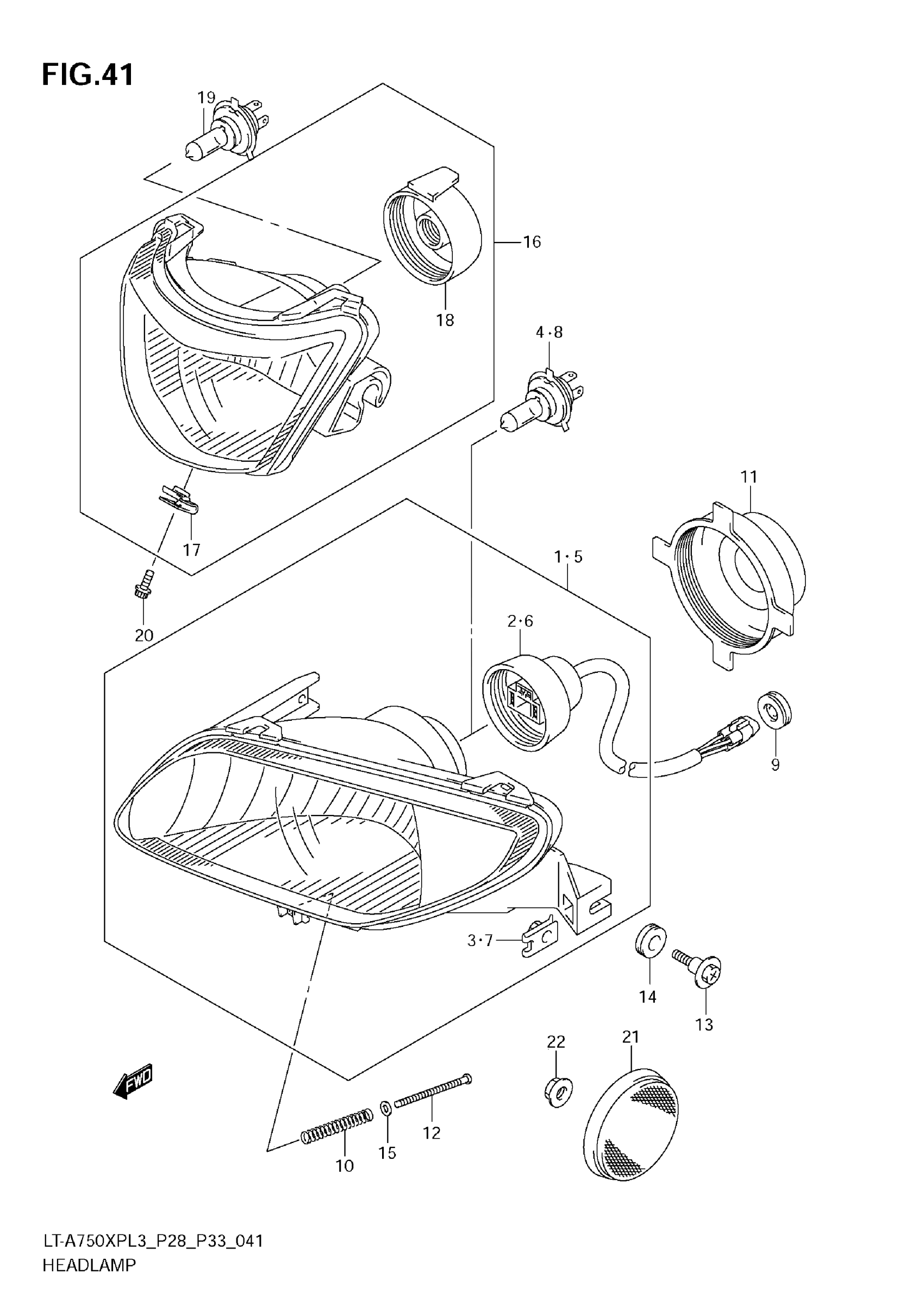
HEADLAMP (LT-A750XPZL3 P28)
Suzuki LT-A750XPL3 (2013) HEADLAMP (LT-A750XPZL3 P28) Diagram
#
Description
Price
HEADLAMP (LT-A750XPZL3 P28)
#
Edit ride
