- Partiron
- OEM Parts
- Suzuki
- All Terrain Vehicle
- 2013
- LT-A750XPL3 (2013)
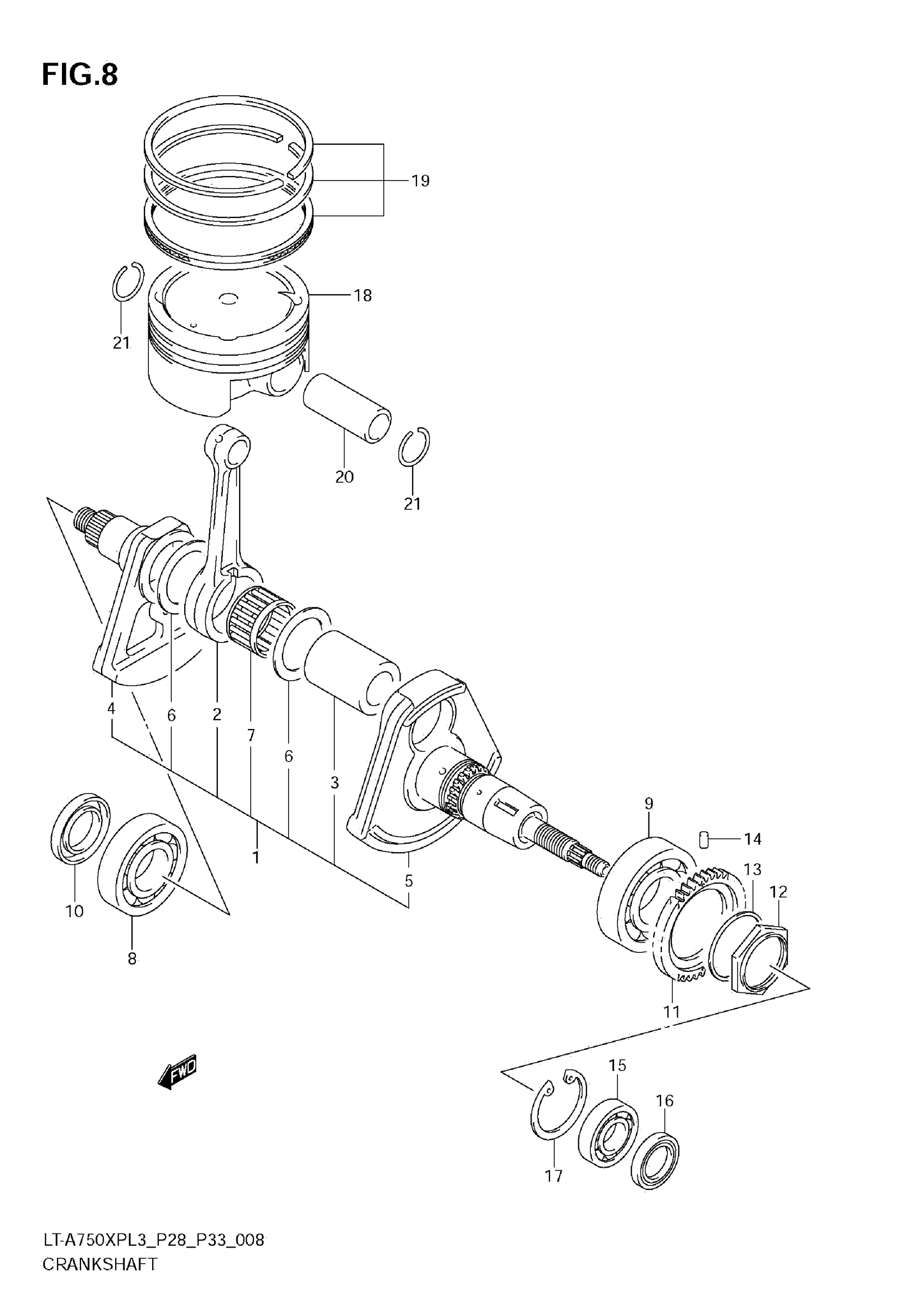
CRANKSHAFT
Suzuki LT-A750XPL3 (2013) CRANKSHAFT Diagram
#
Description
Price
4
CRANKSHAFT, RH
12220-31G20
Unavailable
5
CRANKSHAFT, LH
12261-31G10
Unavailable
