- Partiron
- OEM Parts
- Suzuki
- All Terrain Vehicle
- 2012
- LT-A750XPL2 (2012)
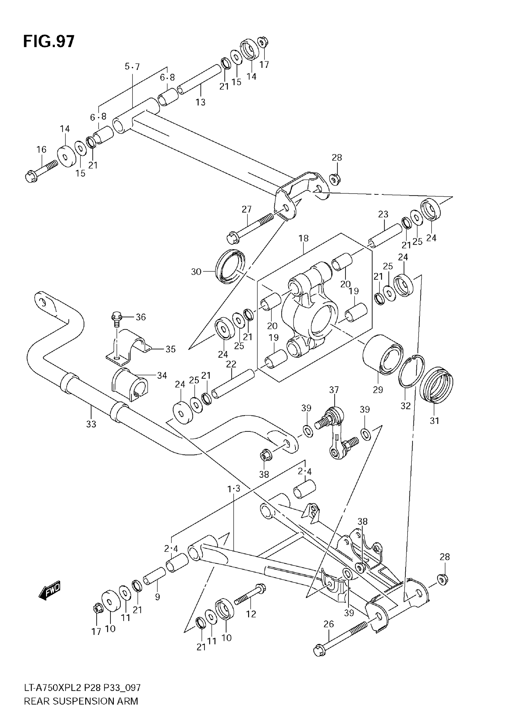
REAR SUSPENSION ARM
Suzuki LT-A750XPL2 (2012) REAR SUSPENSION ARM Diagram
#
Description
Price
35
PLATE, RR STABILIZER
61650-31G00
Unavailable
