- Partiron
- OEM Parts
- Suzuki
- All Terrain Vehicle
- 2011
- LT-A750XPL1 (2011)
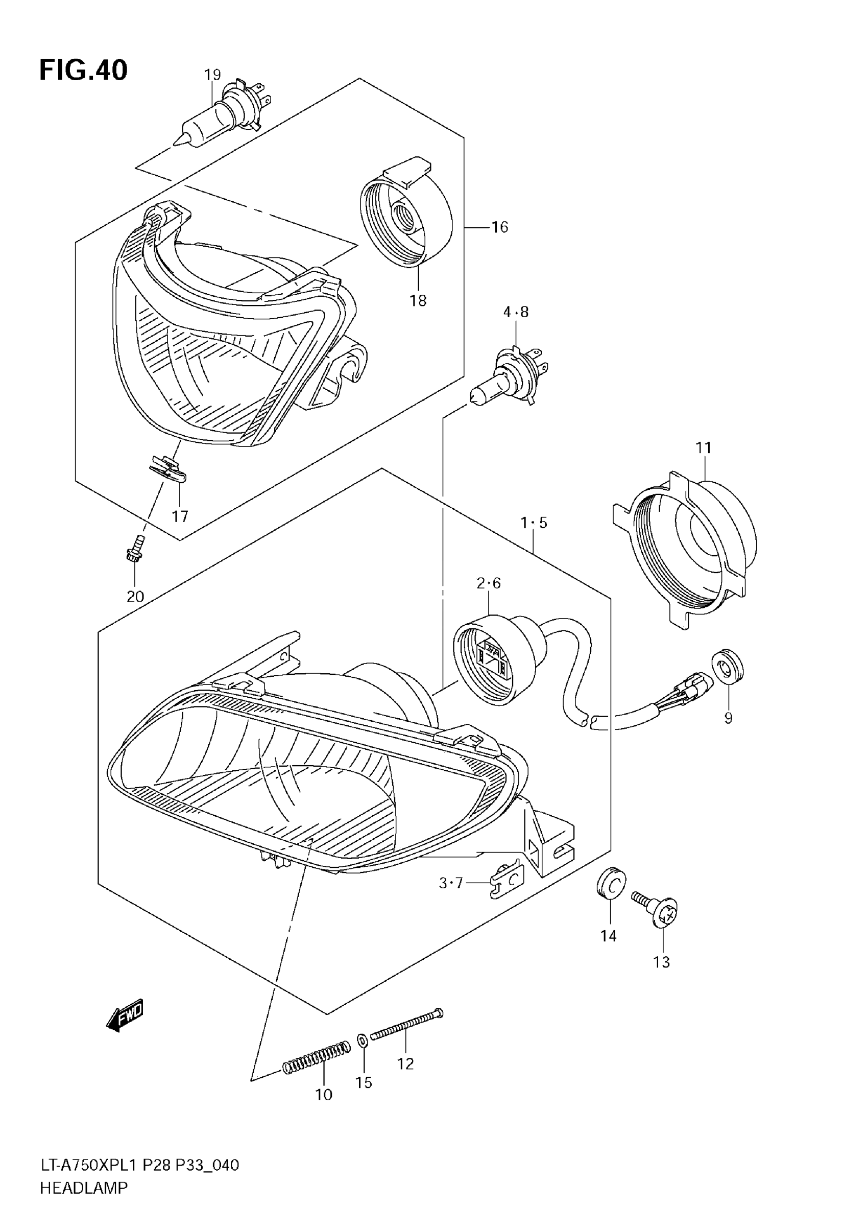
HEADLAMP (LT-A750XP L1 E33)
Suzuki LT-A750XPL1 (2011) HEADLAMP (LT-A750XP L1 E33) Diagram
#
Description
Price
1
HEADLAMP ASSY RH
35100-31G90-999
Unavailable
