Partiron

Suzuki LT-A750XP (2009) WATER PUMP Diagram

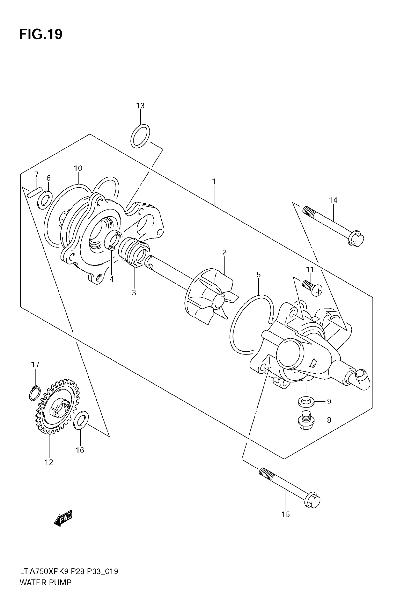
#

Description
Price

1

PUMP ASSY,WATER | Includes Item(s) 2 - 11 This part replaces 17400-31G00.

17400-31G11

$151.15

2

IMPELLER

17491-31G00

$54.37

3

.SEAL,MECHANICAL This part replaces 17470-02F00.

17470-02F11

$29.22

4

OIL SEAL

17431-07G00

$9.89

5

O RING

17418-31G00

$10.23

6

WASHER

17432-07G00

$2.60

7

PIN

17482-03G00

$2.63

8

.BOLT,DRAIN

17415-20920

$7.38

9

GASKET (8.2X14X1)

09168-08016

$1.65

10

O RING

17435-31G00

$20.43

11

.SCREW

02112-0616B

$2.12

12

GEAR, WATER PUMP DRIVEN

17461-31G00

$31.90

13

.O-RING (D:2.4,ID:21.8)

09280-22001

$1.65

14

BOLT

01547-0645A

$2.42

15

BOLT

01547-0655A

$2.42

16

WASHER, 10X18X0.5

09181-10158

$1.97

17

CIRCLIP This part replaces 08331-3110A.

08331-31109

$1.78