- Partiron
- OEM Parts
- Suzuki
- All Terrain Vehicle
- 2023
- LT-A750XM3 (2023)
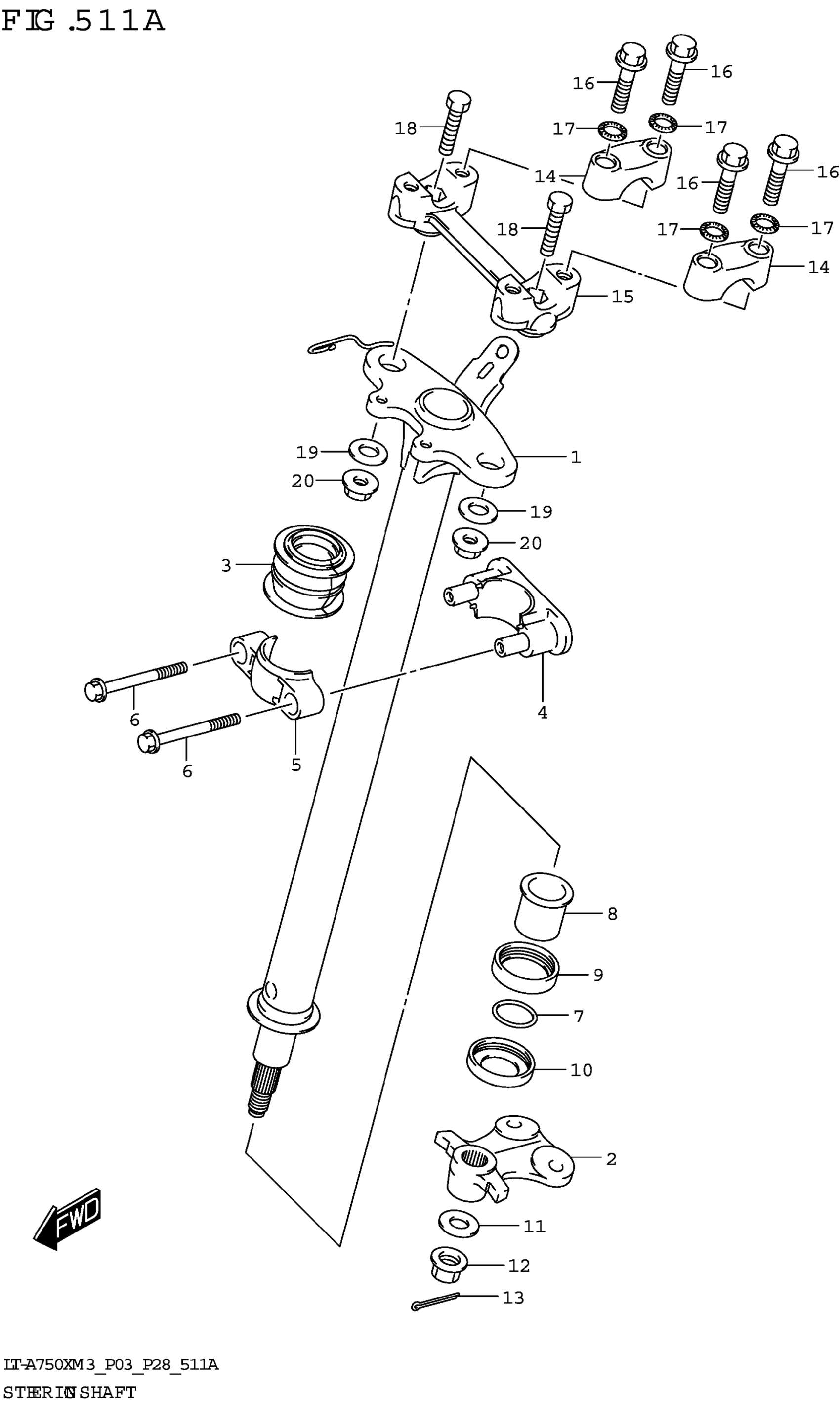
STEERING SHAFT (LT-A750X)
Suzuki LT-A750XM3 (2023) STEERING SHAFT (LT-A750X) Diagram
#
Description
Price
7
O RING
09280-24014
Unavailable
