Partiron

Suzuki LT-A750XM3 (2023) CYLINDER HEAD COVER Diagram

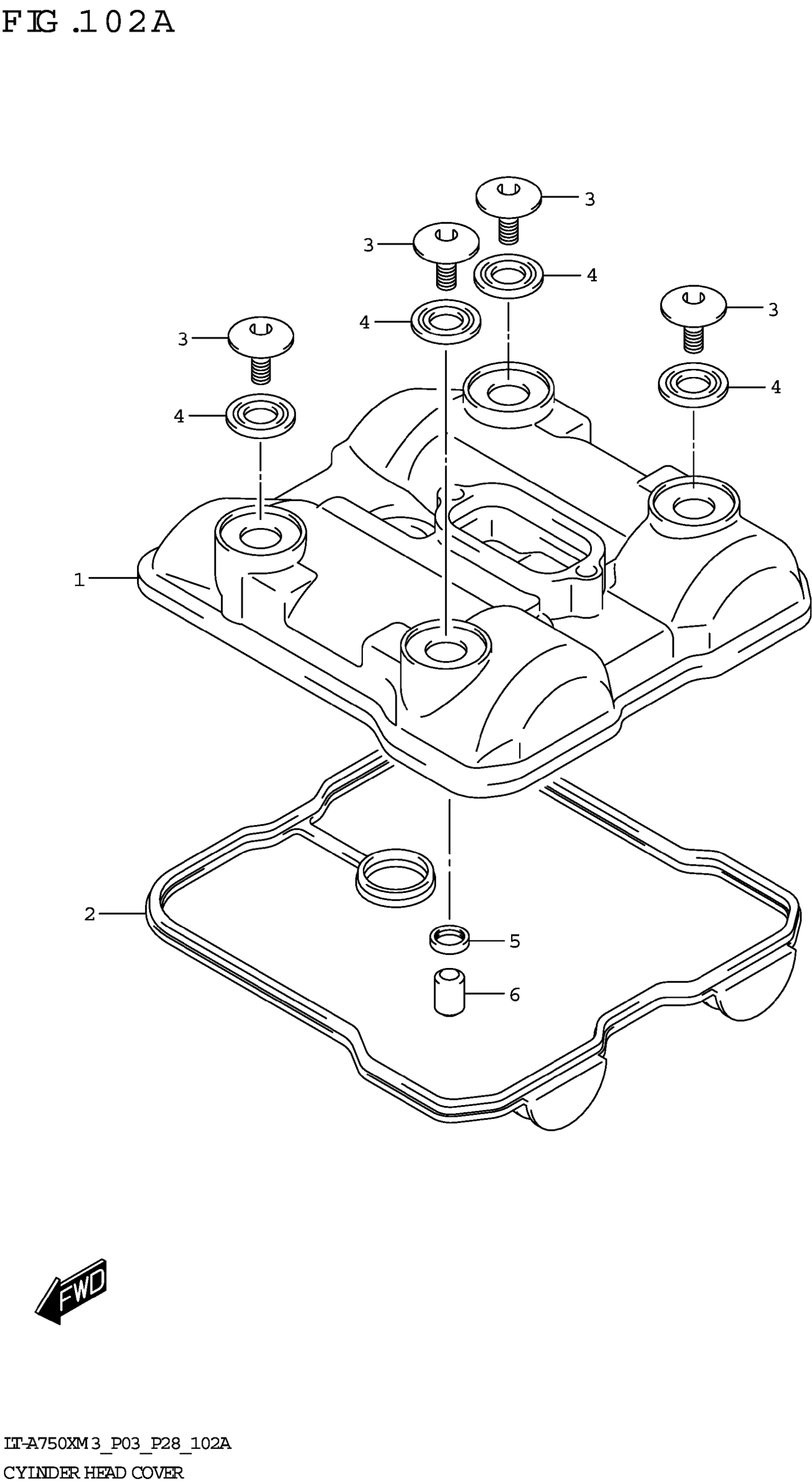
#

Description
Price

1

COVER,CYLINDER HEAD

11171-31G50

$229.82

2

.GASKET,CYL HEAD COVER

11173-31G00

$34.73

3

BOLT (7X17.5)

09106-07021

$4.50

4

WASHER,CYL HEAD COVER (10.6X2

11191-27E00

$4.27

5

.GASKET,2ND AIR PASSAGE

11182-35F10

$4.72

6

PIN (8.2X10X13)

09206-10016

$8.04