- Partiron
- OEM Parts
- Suzuki
- All Terrain Vehicle
- 2022
- LT-A750XM2 (2022)
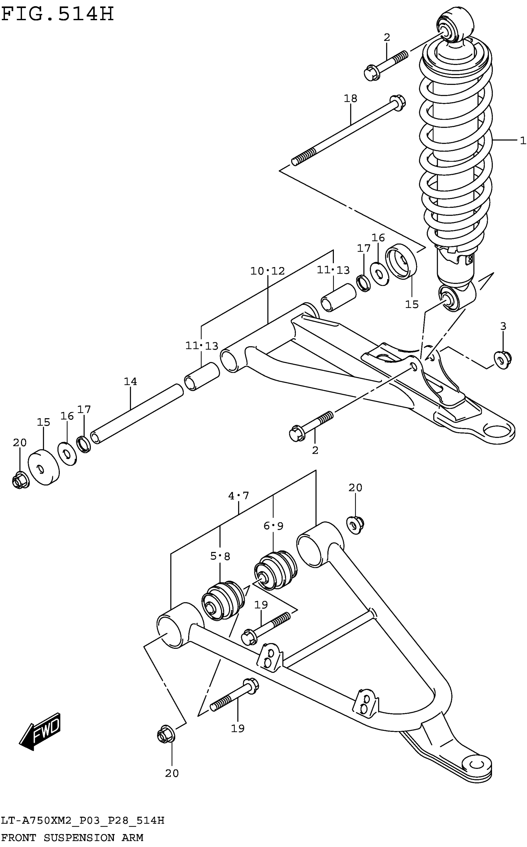
FRONT SUSPENSION ARM (LT-A750XPZM2 P28)
Suzuki LT-A750XM2 (2022) FRONT SUSPENSION ARM (LT-A750XPZM2 P28) Diagram
#
Description
Price
FRONT SUSPENSION ARM (LT-A750XPZM2 P28)
#
Edit ride
