Partiron

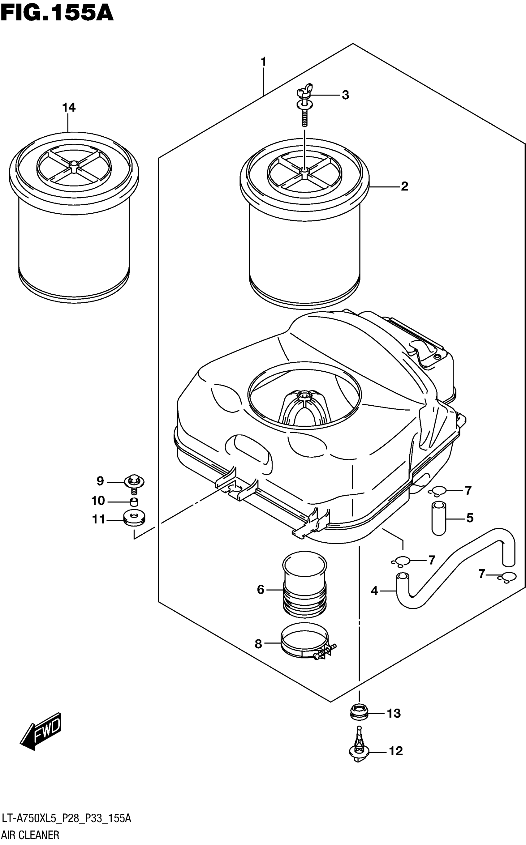
Suzuki LT-A750XL5 (2015) AIR CLEANER Diagram

#

Description
Price

1

CLEANER ASSY,AI This part replaces 13700-31G41.

13700-31G42

$252.08

2

FILTER ASSY

13780-31G30

$75.96

3

BOLT, WING

13831-31G00

$8.07

4

.TUBE, BREATHER This part replaces 13853-31G00.

13853-31G01

$20.78

5

.PLUG,DRAIN This part replaces 13878-09F00.

13878-09F01

$5.48

6

.TUBE,OUTLET This part replaces 13881-31G01.

13881-31G02

$8.97

7

CLIP

09401-14101

$2.34

8

CLAMP

09402-58208

$5.36

9

BOLT (6X20)

09116-06149

$3.78

10

SPACER (6.1X8X9.5)

09180-06248

$2.12

11

CUSHION

09320-08028

$3.04

12

SENSOR, AIR TEMP

13650-52G00

$107.20

13

.GROMMET,AIR TEMP SENSOR This part replaces 13655-77E00.

13655-77E10

$3.85

14

FILTER ASSY,AIR CLEANER | OPT

13780-31GA0

$55.45