- Partiron
- OEM Parts
- Suzuki
- All Terrain Vehicle
- 2014
- LT-A750XL4 (2014)
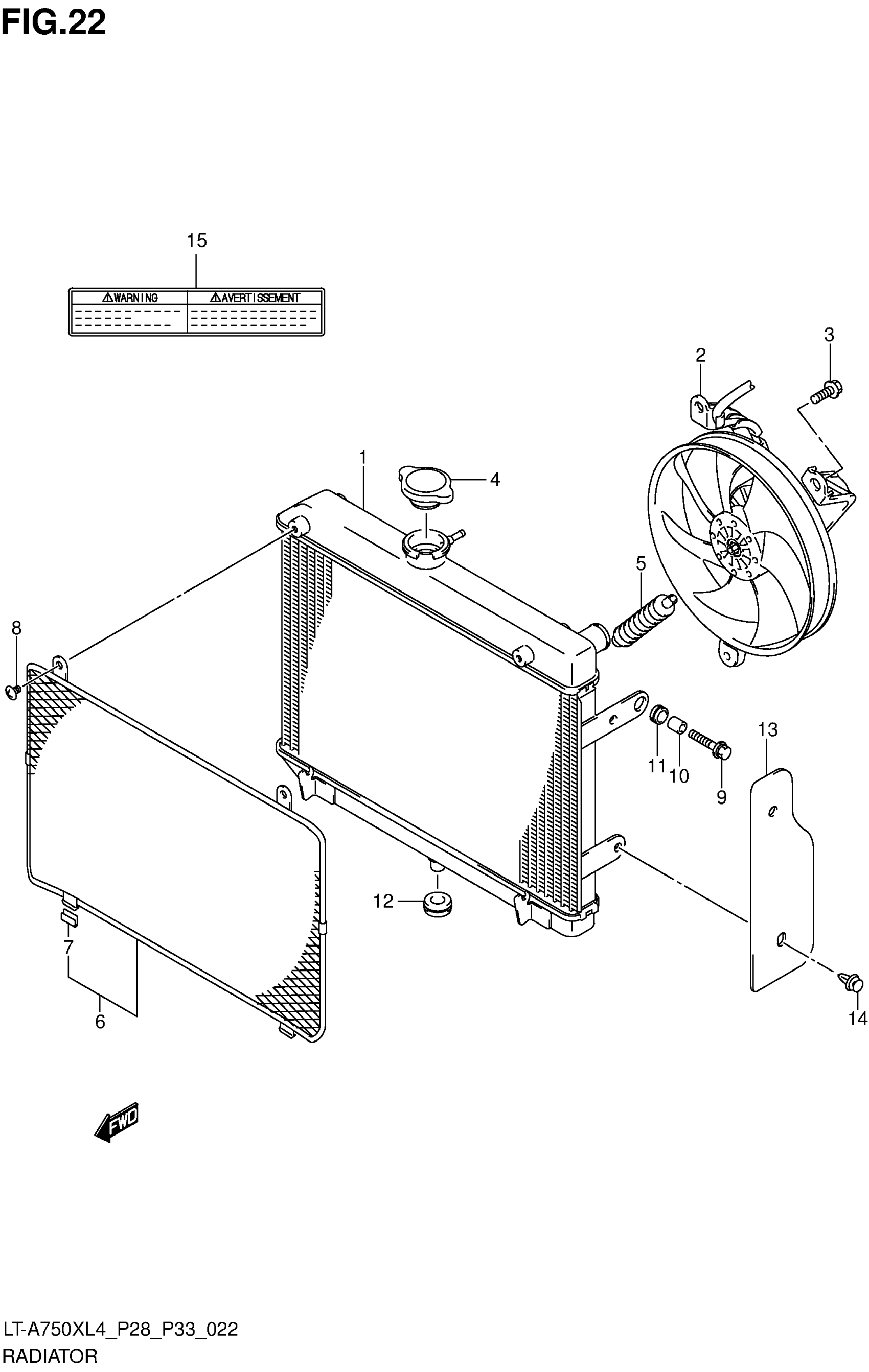
RADIATOR (LT-A750XZL4 P28)
Suzuki LT-A750XL4 (2014) RADIATOR (LT-A750XZL4 P28) Diagram
#
Description
Price
1
RADIATOR SET WATER
17700-31G30
Unavailable
