- Partiron
- OEM Parts
- Suzuki
- All Terrain Vehicle
- 2012
- LT-A750XL2 (2012)
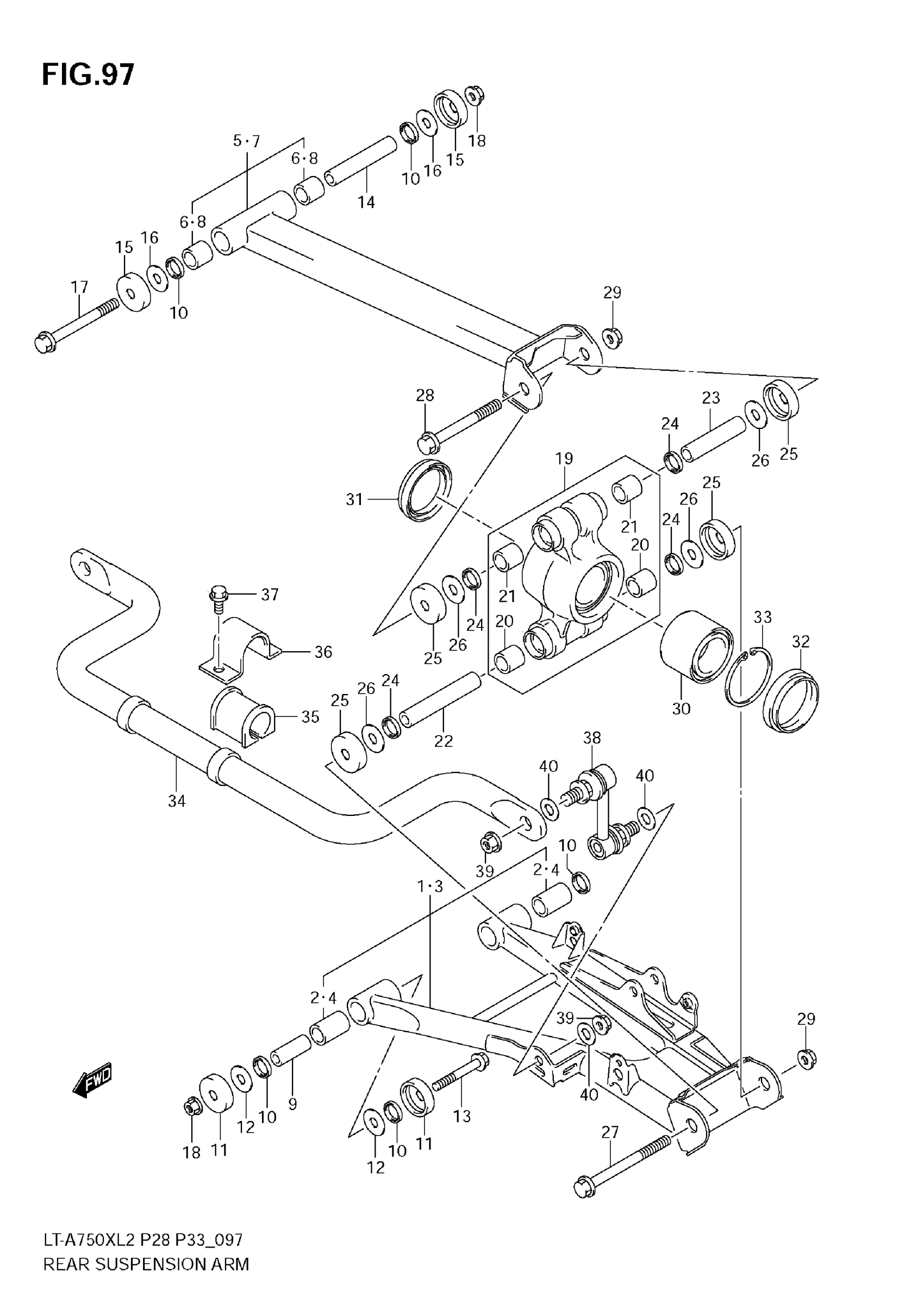
REAR SUSPENSION ARM
Suzuki LT-A750XL2 (2012) REAR SUSPENSION ARM Diagram
#
Description
Price
REAR SUSPENSION ARM
#
Edit ride
