- Partiron
- OEM Parts
- Suzuki
- All Terrain Vehicle
- 2012
- LT-A750XL2 (2012)
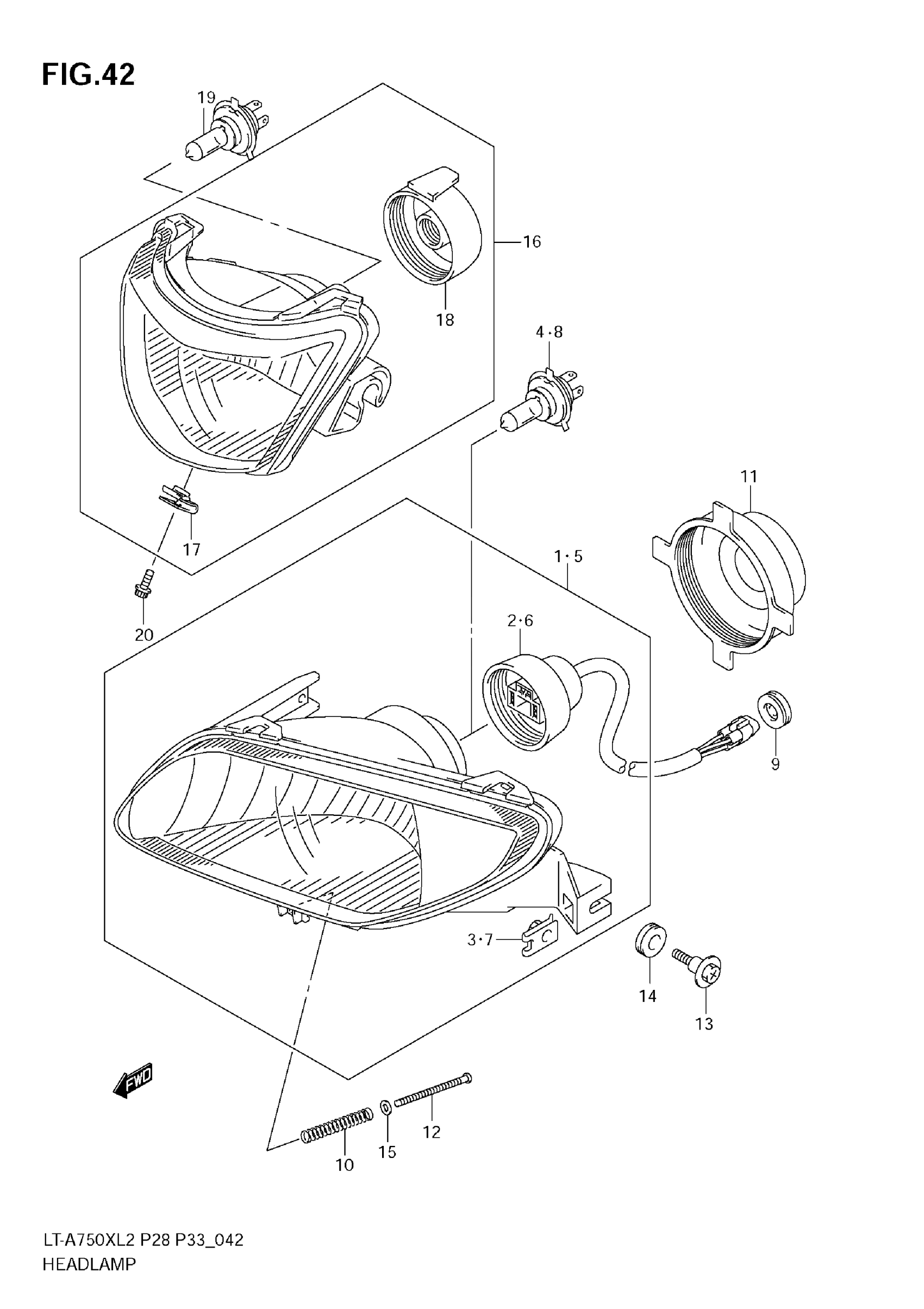
HEADLAMP (LT-A750XZ L2 E33)
Suzuki LT-A750XL2 (2012) HEADLAMP (LT-A750XZ L2 E33) Diagram
#
Description
Price
HEADLAMP (LT-A750XZ L2 E33)
#
Edit ride
