- Partiron
- OEM Parts
- Suzuki
- All Terrain Vehicle
- 2020
- LT-A750X M0 (2020)
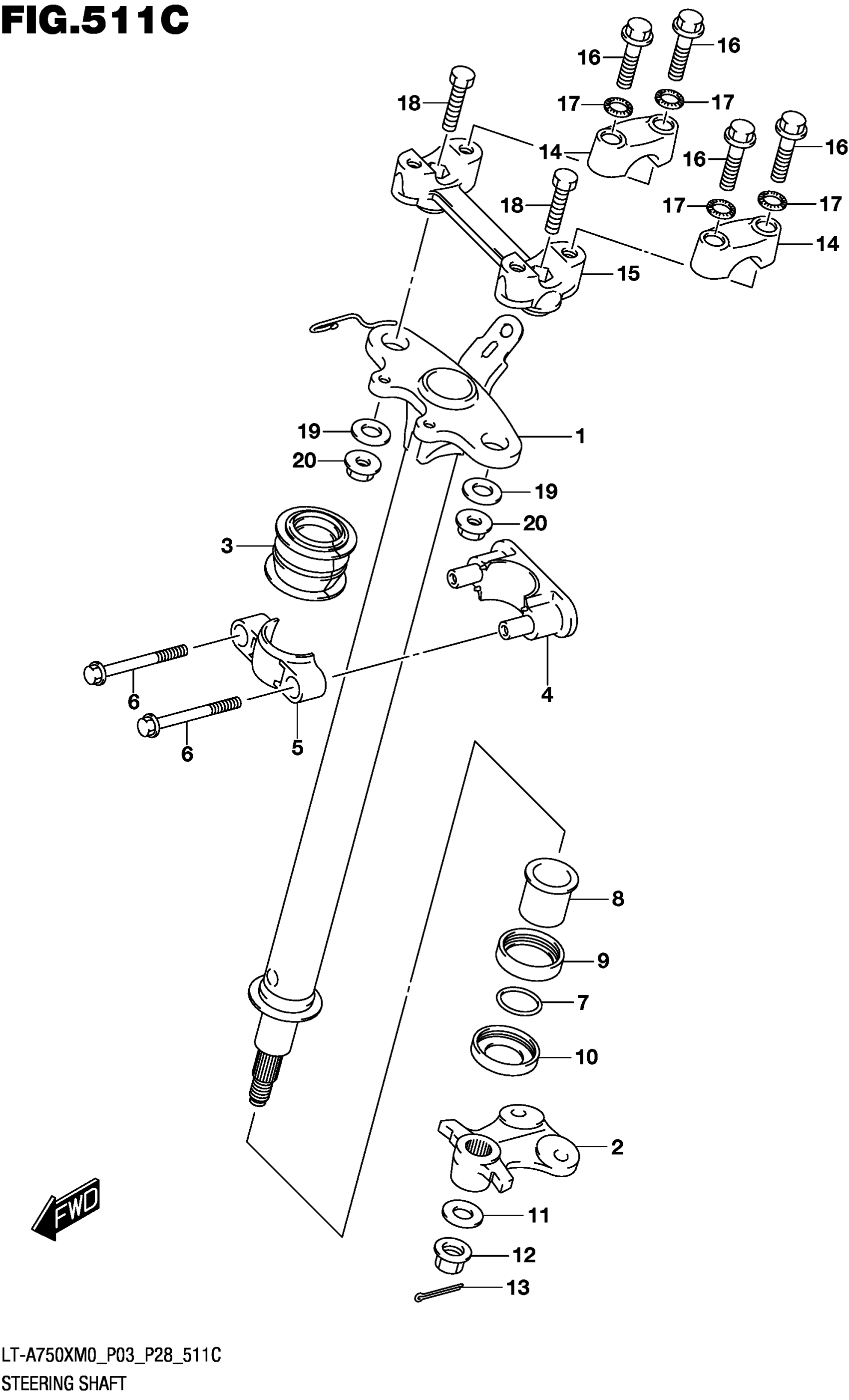
STEERING SHAFT (LT-A750XM0 P33)
Suzuki LT-A750X M0 (2020) STEERING SHAFT (LT-A750XM0 P33) Diagram
#
Description
Price
7
O RING
09280-24014
Unavailable
