- Partiron
- OEM Parts
- Suzuki
- All Terrain Vehicle
- 2020
- LT-A750X M0 (2020)
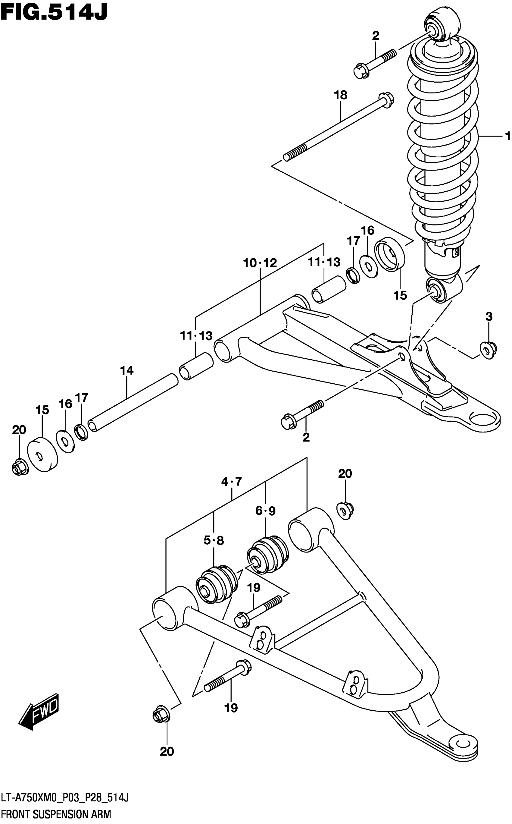
FRONT SUSPENSION ARM (LT-A750XPZM0 P33)
Suzuki LT-A750X M0 (2020) FRONT SUSPENSION ARM (LT-A750XPZM0 P33) Diagram
#
Description
Price
FRONT SUSPENSION ARM (LT-A750XPZM0 P33)
#
Edit ride
