- Partiron
- OEM Parts
- Suzuki
- All Terrain Vehicle
- 2005
- LT-A700X (2005)
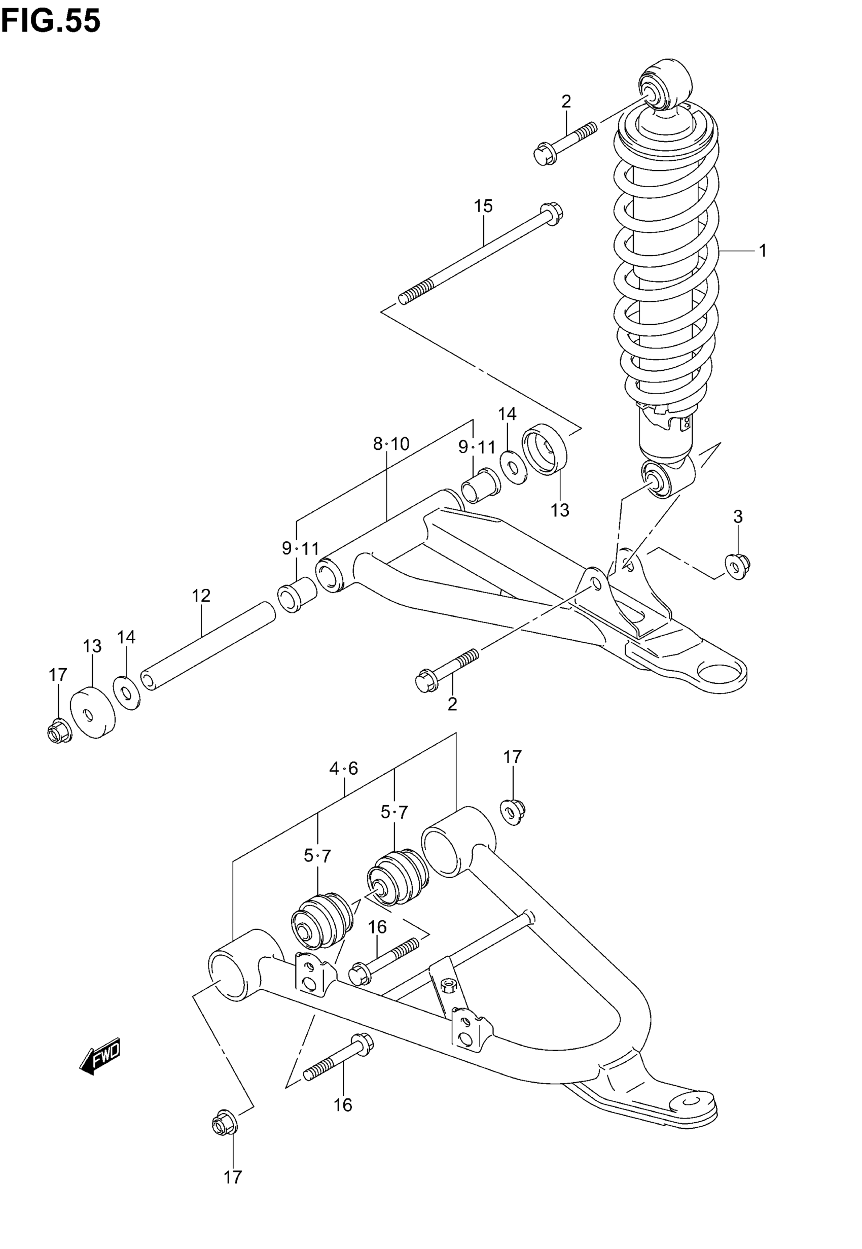
FRONT SUSPENSION ARM
Suzuki LT-A700X (2005) FRONT SUSPENSION ARM Diagram
#
Description
Price
1
ABSORBER ASSY, FRONT SHOCK (GRAY)
52100-31G00-YU8
Unavailable
6
ARM SET, SUSPENSION LOWER LH | Includes Item(s) 7
52420-31810
Unavailable
