Partiron

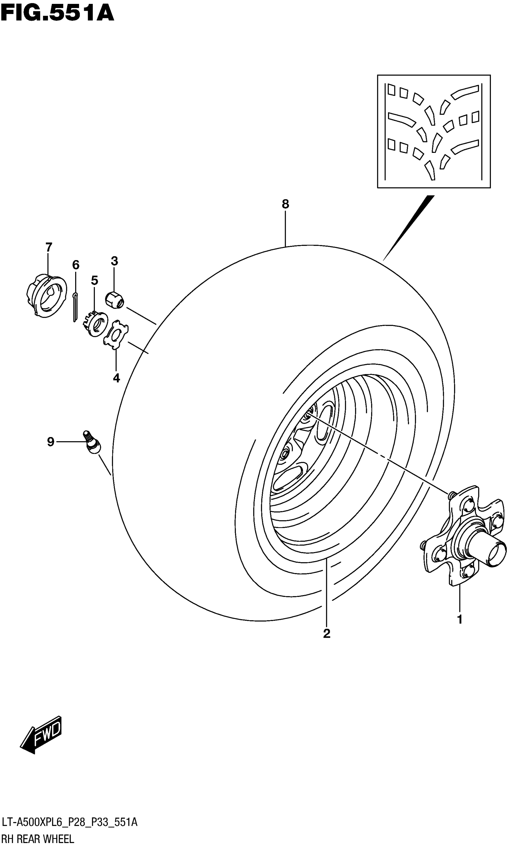
Suzuki LT-A500XPL6 (2016) RH REAR WHEEL Diagram

#

Description
Price

1

HUB, REAR WHEEL RH

64110-31G10

$222.42

2

RIM, REAR WHEEL (12X7.5AT)

65310-31G60-291

$289.65

2

(BLACK)

65310-31G60-291

$289.65

3

NUT

09159-10114

$5.11

4

WASHER, HUB

64723-03G00

$20.80

5

NUT

09141-20008

$18.05

6

COTTER PIN

04111-4035A

$1.49

7

CAP,WHEEL CENTER

54725-09F01

$9.95

8

TIRE,REAR (AT25X10-12) | WHA FONG

65110-31G30

$296.43

9

VALVE ASSY, WHEEL RIM (TR412)

43130-24A00

$8.85