- Partiron
- OEM Parts
- Suzuki
- All Terrain Vehicle
- 2016
- LT-A500XPL6 (2016)
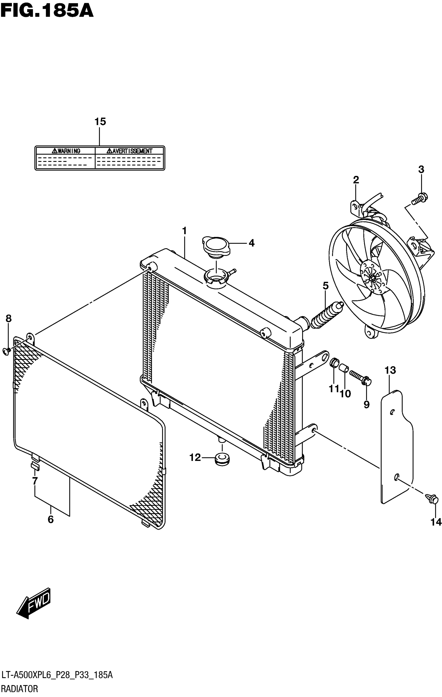
RADIATOR (LT-A500XPL6 P28)
Suzuki LT-A500XPL6 (2016) RADIATOR (LT-A500XPL6 P28) Diagram
#
Description
Price
RADIATOR (LT-A500XPL6 P28)
#
Edit ride
